一种多信道准周期光子晶体
湖北科技学院
一种用于低阈值全光开关的双稳态准光子晶体结构
湖北科技学院
一种纺织用快速烘干装置
湖北科技学院
一种壁挂式农业种植系统上的驱蚊装置
湖北科技学院
一种壁挂式农业种植系统
湖北科技学院
一种斐波那契序列电介质与石墨烯的复合结构
湖北科技学院
一种粉状生物质燃料的旋喷燃烧装置
湖北科技学院
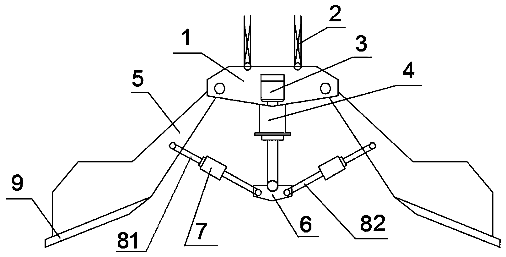
一种新型液压绳索耙集式抓斗及控制方法
湖北科技学院
一种不同发射波长的水溶性CdS量子点原位可控辐射合成方法
湖北科技学院
一种立体农业种植棚上的自动灌溉系统
湖北科技学院
一种立体农业种植棚上的自动滴浇装置
湖北科技学院
一种厂房的雨水管安装结构
湖北亚欧震达科技有限公司
多源数据治理及融合
北京创业投资协会
磁悬浮电机和磁悬浮离心式压缩机
青岛海尔智能技术研发有限公司
设备控制方法、装置、计算机设备和存储介质
青岛海尔智能技术研发有限公司
智慧光纤,感知世界
北京创业投资协会
一种洗衣机用无线供电装置及洗衣机
青岛海尔智能技术研发有限公司
智能家居控制方法、装置、计算机设备和存储介质
青岛海尔智能技术研发有限公司
一种基于GIS的城市海量监控视频管理方法及系统
中国科学院深圳先进技术研究院
用于获取温度调节策略的方法及装置、电子设备
青岛海尔智能技术研发有限公司
共16030页 转到