一种制备用于3D打印的复合粉末的方法、产品以及应用
华中科技大学
一种3D打印用金属基陶瓷相增强合金工具钢粉末、其制备方法及应用
华中科技大学
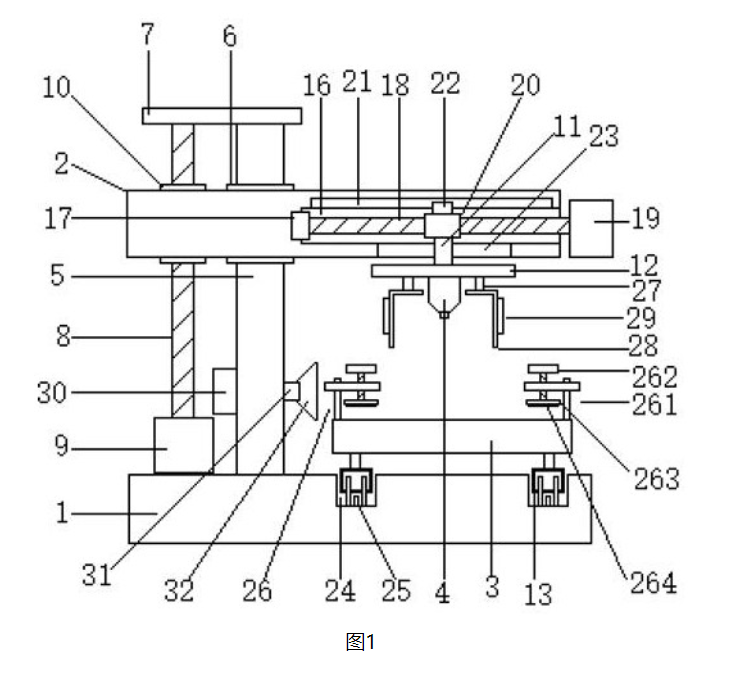
一种高效高精度复合増材制造方法及装置
华中科技大学
采用激光选区烧结工艺制备碳化硅陶瓷件的方法
华中科技大学
一种具有成分与孔隙双梯度过渡层的网状结构件制备方法
华中科技大学
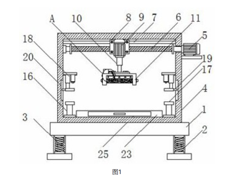
一种增减材复合加工设备及其应用
华中科技大学
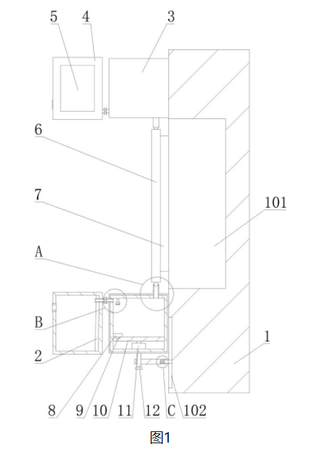
光纤传感系统
北京创业投资协会
超高强汽车钢焊接接头组织性能调控技术
北京科技大学
金属材料室温3D打印新技术
北京工业大学技术转移中心
基于轮廓提取的智能优化剪切技术
北京科技大学
便携空气净化器
天津联创科技发展有限公司
宽厚板表面质量检测系统
北京科技大学
高精度、高致密BJ增材制造装备及技术产业化
北京三帝科技股份有限公司
一种用于钢化玻璃生产线的丁基胶涂布机
赤壁市永盛粮食机械有限公司
一种不锈钢加工用打磨机
湖北韵智捷家具有限公司
一种环保复合板生产用激光切割装置
湖北韵智捷家具有限公司
高性能硬质合金的规模化制备技术与工程应用
北京工业大学技术转移中心
高温烟尘输送系统和高温烟尘输送方法
中国瑞林工程技术股份有限公司
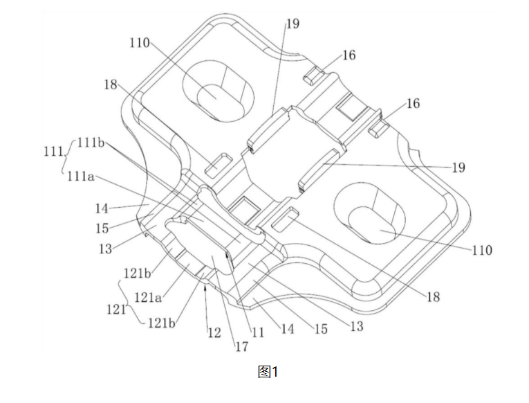
一种铰链基座及铰链组件
博洛尼家居用品湖北有限公司
一种小型航标船
咸宁忐客科技有限公司
共16030页 转到