一种粉床多材料区域铺放成形的工艺方法
华中科技大学
一种Ag基电触头的制造方法
华中科技大学
大型筋板件等温局部加载技术
北京科技大学
花生负压低温脱皮工艺
江西省农业科学院
一种自适应分层的増材制造方法
华中科技大学
一种花生米整粒脱皮工艺
江西省农业科学院
一种基于体素化的多支管钢节点制造路径规划方法
华中科技大学
一种采用选区激光熔化成形技术成形功能梯度零件的方法
华中科技大学
大数据下医疗级穿戴式电子医疗器件技术
心妙(佛山)科技有限公司
一种多材料梯度点阵结构的零件的一体化成形方法
华中科技大学
一种漂浮在水面上的种植系统
湖北科技学院
一种铟镓锌氧化物粉体的制备方法
华中科技大学
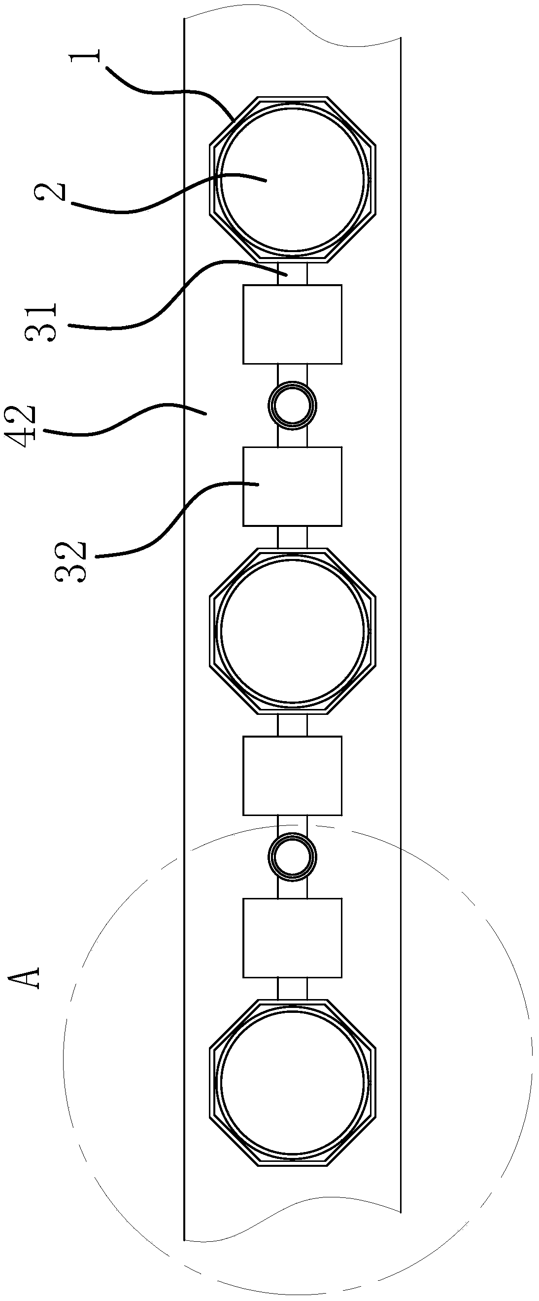
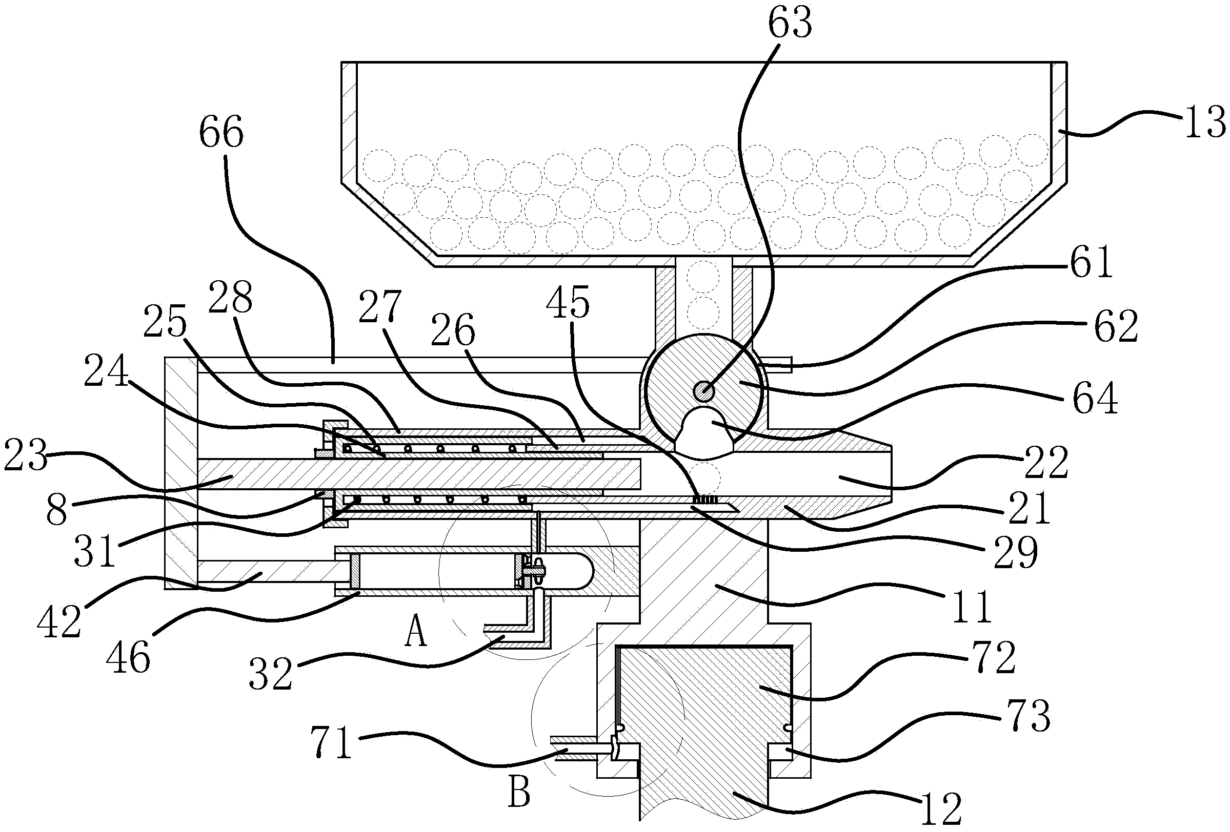
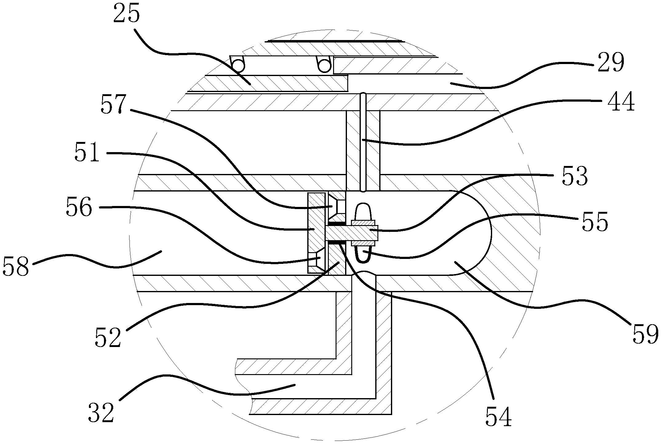
一种异质多材料增材制造系统
华中科技大学
一种转运工装
湖北恒阳科技发展有限公司
一种乒乓球发球机上的乒乓球定位机构
湖北科技学院
一种无人机抛投装置
咸宁市天意模型科技有限公司
一种提高聚酰亚胺膜抗污染性能的方法及产品
华中科技大学
应用焊丝强化热作模具材料表面的方法
华中科技大学
一种柔性电路板存放运输装置
湖北奕宏精密制造有限公司
一种乒乓球发球机上的控制阀
湖北科技学院
共16030页 转到