科创中国
问题分诊室
具身智能与智慧医疗融合创新产业
高性能装备制造产业
智能机器人全产业链产业
中医药产业
人工智能产业
新一代信息技术产业
作物产业
量子科技与先进制造产业
海洋装备产业
煤炭开采及煤化工产业
特殊钢产业
节能环保产业
低空经济产业
光电产业
汽车产业
新能源产业
新材料产业
“以竹代塑”
成果发布厅
新型电力系统
化学领域
现代纺织
低空经济
信息通信
智慧公路
煤炭开采及煤化工
中医药
智能机器人全产业链
海洋装备
新一代信息技术
量子科技与先进制造
人工智能
高性能装备制造
具身智能与智慧医疗融合创新
作物
科创地方
科创北京
科创天津
科创内蒙古
科创辽宁
科创河北
科创湖南
科创宁夏
科创广东
科创江苏
科创广西
科创重庆
科创山东
科创河南
科创福建
科创黑龙江
科创湖北
科创浙江
科创山西
科创资讯
科创头条
科协活动
通知公告
科技政策
技术经理人
科技服务团
资源中心
项目库
问题库
案例库
开源库
学术资源
会议展览
品牌栏目
院士开讲
解码新质生产力
金融服务云课堂
企创云课堂
有问题想咨询
有成果想转化
我的交易
我的会议
我报名的路演会议
我的资讯
我的消息
我的动态
我的需求
我的成果
我的
个人资料编辑
退出登录
登录/注册
科创中国
需求发布
成果发布
科创案例库
揭榜挂帅
技术经理人
会议展览
科创联合体
科技服务团
科创资讯
科技政策
院士开讲
学术资源
城市站点
协作站点
搜索
问题库
项目库
开源库
English
我的交易
我的会议
我报名的路演会议
我的资讯
我的消息
我的动态
我的需求
我的成果
我的
个人资料编辑
退出登录
登录/注册
组织入驻
隐藏工作区
全国
在线展厅
切换展厅
全国
北京市
天津市
河北省
山西省
内蒙古
辽宁省
吉林省
黑龙江省
上海市
江苏省
浙江省
安徽省
福建省
江西省
山东省
河南省
湖北省
湖南省
广东省
广西
海南省
重庆市
四川省
贵州省
云南省
西藏
陕西省
甘肃省
青海省
宁夏
新疆
新疆兵团
路演活动
科技成果
参观
人数
0
0
0
0
0
0
0
点赞
人数
0
0
0
0
0
0
0
技术领域
全部
新兴行业
|
新基建
|
电子信息
|
高端产业
|
生物医药
|
石化与新材料
|
智能机械与光机电一体化
|
节能环保
|
新能源
|
现代农业
|
高端技术服务业
|
农林牧副渔
|
城建规划
|
文化创意
|
矿山工程
|
冶金工程
|
企业管理
|
知识产权
|
智库咨询
|
旅游休闲娱乐
|
企业发展服务
|
电子商务
|
纺织
|
其他
|
更多
核电管道“轴向补料-径向挤压”热挤压工艺和模具技术
北京科技大学
一种3D打印粉床的快速超高温加热装置
华中科技大学
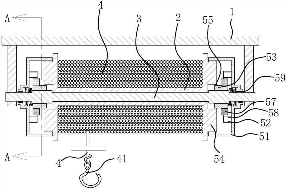
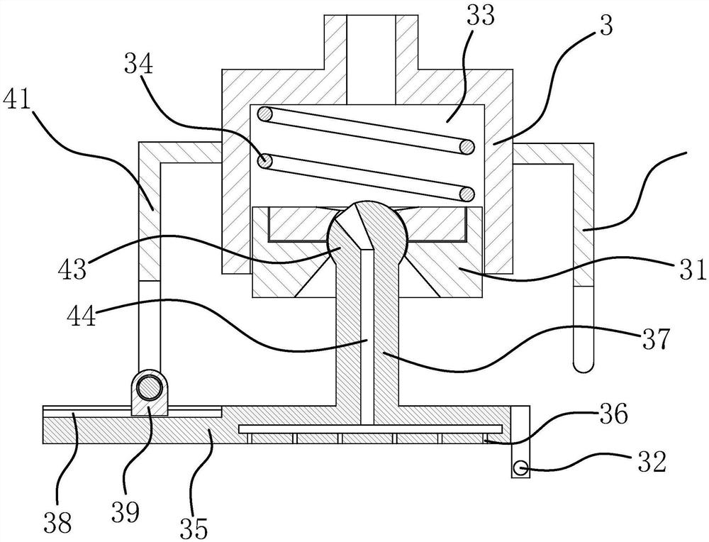
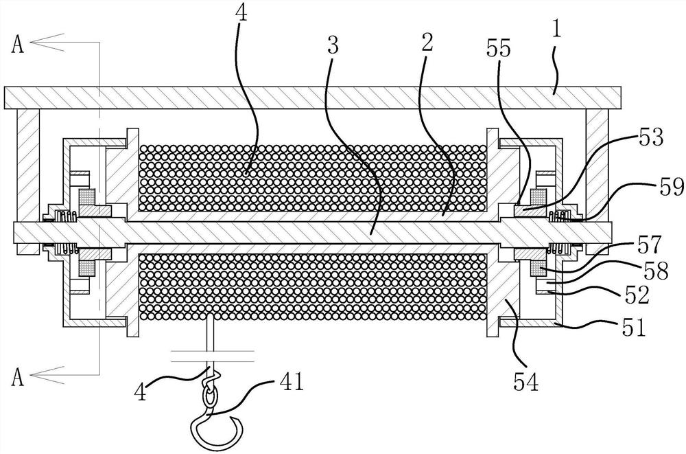
一种速度可控的缓降器
湖北科技学院
一种缓降逃生装置
湖北科技学院
高安全性锂电池系列隔膜研制技术及产品
西安交通大学
一种动态物体的三维测量系统
华中科技大学
一种预防治疗新生仔猪肠炎的中草药微生态复合制剂及其制备方法与应用
江西省农业科学院
晶体塑性-离散位错动力学(CPFE-DDD)跨尺度建模理论及其应用
北京科技大学
一种多孔金属零部件的近净成形方法
华中科技大学
一种常规粳稻泵吸式去雄装置
黑龙江省农业科学院耕作栽培研究所
一种移动臂式粉床铺粉装置
华中科技大学
贮存仓
江西省农业科学院
一种磁吸手机套组件
广州华昇科技咨询有限公司
刮板输送机
江西省农业科学院
一种侧切刀式条带耕作播种机
中国农业科学院作物科学研究所
一种防火阻燃型复合海绵胶带
广州华昇科技咨询有限公司
一种进料装置
江西省农业科学院
基于北斗三号的铁路高精度检测与应急系统产业化技术
广东中发星通技术有限公司
一种高精度的航空发动机叶片自动三维测量方法和系统
华中科技大学
一种片材的分拣线上的片材抛送机构
湖北科技学院
首页
上一页
5793
5794
5795
5796
5797
5798
5799
下一页
尾页
共16030页 转到
页