一种具有自适应降噪功能的离心机扩压器
西安交通大学
采油五厂在绿色矿山创建实践中的应用与分析
中国石油天然气股份有限公司青海油田分公司
蝙蝠蛾寄主幼虫人工繁育技术研究
北京同仁堂健康药业(青海)有限公司
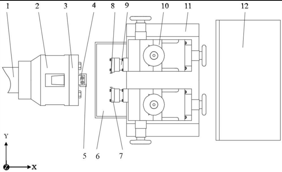
一种基于二次冲击技术的高速正交切削实验装置及实验方法
西安交通大学
盐湖地区钢管桥技术规范
青海盐湖工业股份有限公司
青海省冷湖镇昆特依矿区深层卤水钾矿预查
青海省柴达木综合地质矿产勘查院
一种分离传动式循环游泳机
西安交通大学
一种带柔性保护套的耐磨可调汽车线束
赤壁市科斯塔电子科技有限公司
脑胶质瘤伴随诊断试剂盒
上海技术交易所
枸杞高值开发利用及精深加工产业化技术
中国科学院西北高原生物研究所
水泥基化学增强加固材料应用技术
北京工业大学技术转移中心
基于妊娠试纸的溶菌酶即时检测hCG-apt探针、方法及试剂盒
西安交通大学
用于进行慢性记录的电极装置
中国科学院深圳先进技术研究院
青海油田复杂断块气藏治水对策及提高采收率技术研究
中国石油天然气股份有限公司青海油田分公司
南翼山Ⅲ+Ⅳ油组细分层系论证
中国石油天然气股份有限公司青海油田分公司
无人机监测与精准飞播专利系列专利技术
宁夏大学
“陆海空天”体系下的大湾区无人机智能平台
中国航海学会
沙棘饮料关键技术研究及产业化应用
青海伊纳维康生物科技有限公司
AI清洁机器人
北京创业投资协会
造影剂扩散过程模拟装置
中国科学院深圳先进技术研究院
共16030页 转到