科创中国
问题分诊室
具身智能与智慧医疗融合创新产业
高性能装备制造产业
智能机器人全产业链产业
中医药产业
人工智能产业
新一代信息技术产业
作物产业
量子科技与先进制造产业
海洋装备产业
煤炭开采及煤化工产业
特殊钢产业
节能环保产业
低空经济产业
光电产业
汽车产业
新能源产业
新材料产业
“以竹代塑”
成果发布厅
新型电力系统
化学领域
现代纺织
低空经济
信息通信
智慧公路
煤炭开采及煤化工
中医药
智能机器人全产业链
海洋装备
新一代信息技术
量子科技与先进制造
人工智能
高性能装备制造
具身智能与智慧医疗融合创新
作物
科创地方
科创北京
科创天津
科创内蒙古
科创辽宁
科创河北
科创湖南
科创宁夏
科创广东
科创江苏
科创广西
科创重庆
科创山东
科创河南
科创福建
科创黑龙江
科创湖北
科创浙江
科创山西
科创资讯
科创头条
科协活动
通知公告
科技政策
技术经理人
科技服务团
资源中心
项目库
问题库
案例库
开源库
学术资源
会议展览
品牌栏目
院士开讲
解码新质生产力
金融服务云课堂
企创云课堂
有问题想咨询
有成果想转化
我的交易
我的会议
我报名的路演会议
我的资讯
我的消息
我的动态
我的需求
我的成果
我的
个人资料编辑
退出登录
登录/注册
科创中国
需求发布
成果发布
科创案例库
揭榜挂帅
技术经理人
会议展览
科创联合体
科技服务团
科创资讯
科技政策
院士开讲
学术资源
城市站点
协作站点
搜索
问题库
项目库
开源库
English
我的交易
我的会议
我报名的路演会议
我的资讯
我的消息
我的动态
我的需求
我的成果
我的
个人资料编辑
退出登录
登录/注册
组织入驻
隐藏工作区
全国
在线展厅
切换展厅
全国
北京市
天津市
河北省
山西省
内蒙古
辽宁省
吉林省
黑龙江省
上海市
江苏省
浙江省
安徽省
福建省
江西省
山东省
河南省
湖北省
湖南省
广东省
广西
海南省
重庆市
四川省
贵州省
云南省
西藏
陕西省
甘肃省
青海省
宁夏
新疆
新疆兵团
路演活动
科技成果
参观
人数
0
0
0
0
0
0
0
点赞
人数
0
0
0
0
0
0
0
技术领域
全部
新兴行业
|
新基建
|
电子信息
|
高端产业
|
生物医药
|
石化与新材料
|
智能机械与光机电一体化
|
节能环保
|
新能源
|
现代农业
|
高端技术服务业
|
农林牧副渔
|
城建规划
|
文化创意
|
矿山工程
|
冶金工程
|
企业管理
|
知识产权
|
智库咨询
|
旅游休闲娱乐
|
企业发展服务
|
电子商务
|
纺织
|
其他
|
更多
西部高海拔地区弱胶结软岩大断面巷道 “刚柔耦合拱”整体支护技术研究
义马煤业集团青海义海能源有限责任公司
柴达木地区枸杞经济林防护林带树种选择及造林技术示范
西宁市林业科学研究所
青海省五龙沟地区金矿整装勘查区找矿部署研究
青海省第一地质勘查院
青海省耕地质量定级成果集成与应用
青海省国土整治与生态修复中心
青海青龙沟-绿梁山-锡铁山铅锌矿整装勘查区
青海省第一地质勘查院
青海省中小河流与山洪地质灾害降雨致灾阈值研究
青海省气候中心
一种分离传动式循环水洞
西安交通大学
高效硅异质结SHJ太阳电池技术
北京工业大学技术转移中心
一种液态铅铋合金流量计及其流量测量方法
西安交通大学
高温深井有效改造工艺技术研究及应用
中国石油天然气股份有限公司青海油田公司
青海省暴雨洪涝灾害数据集
青海省气候中心
一种提升水系锌离子电池稳定性的复合改性电解液及其制备方法
西安交通大学
英西水平井体积改造工艺技术研究
中国石油天然气股份有限公司青海油田分公司
一种层状有序@无序核壳结构锂离子电池正极材料及其制备方法和应用
西安交通大学
一种抗氧化有机包覆镍基催化剂及其制备方法和应用
西安交通大学
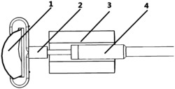
具有弹射与抓取功能的软体抓手及其3D打印制备方法
华中科技大学
炼化企业设备、管道焊接工艺优化研究与应用
中国石油天然气股份有限公司青海油田分公司
一种传感检测芯片及制备方法、便携式电化学阻抗传感器及使用方法
西安交通大学
识别LILRB4特定表位的抗体及抗肿瘤药物
上海技术交易所
线上科学运动指导视频课程
中国生物物理学会
首页
上一页
5784
5785
5786
5787
5788
5789
5790
下一页
尾页
共16030页 转到
页