一种方便使用的骨科用石膏剪
咸宁市中心医院
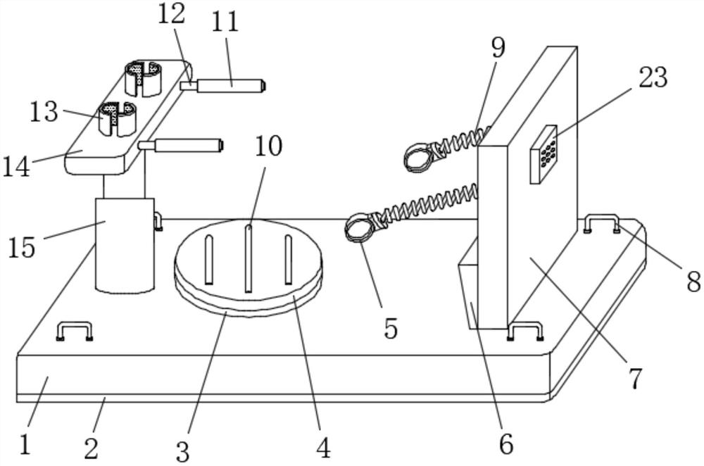
放射科医学造影辅助装置
咸宁市中心医院
一种砂处理线用排尘装置
咸宁泰昌机械有限公司
一种金属铸造用冷却装置
咸宁泰昌机械有限公司
一种防堵塞的砂漏装置
咸宁泰昌机械有限公司
一种曲轴用抛光装置
咸宁泰昌机械有限公司
一种用于通机曲轴打磨的装夹装置
咸宁泰昌机械有限公司
一种金属铸造用翻转装置
咸宁泰昌机械有限公司
激光医疗技术与应用
天津联创科技发展有限公司
一种汽车刹车蹄开口装置
咸宁泰昌机械有限公司
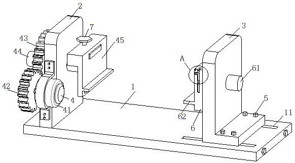
一种用于通机曲轴去毛刺装置
咸宁泰昌机械有限公司
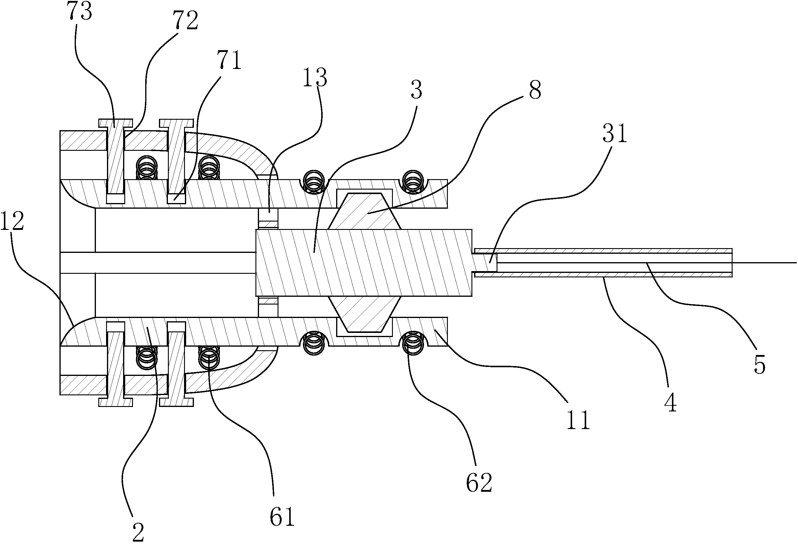
一种变矩电机上的变矩控制装置
湖北科技学院
生物信息无创检测
天津联创科技发展有限公司
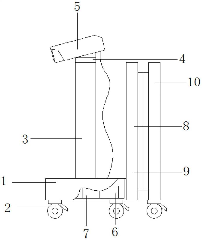
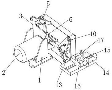
一种双喷洒多角度可调节农机洒水推车
咸宁职业技术学院
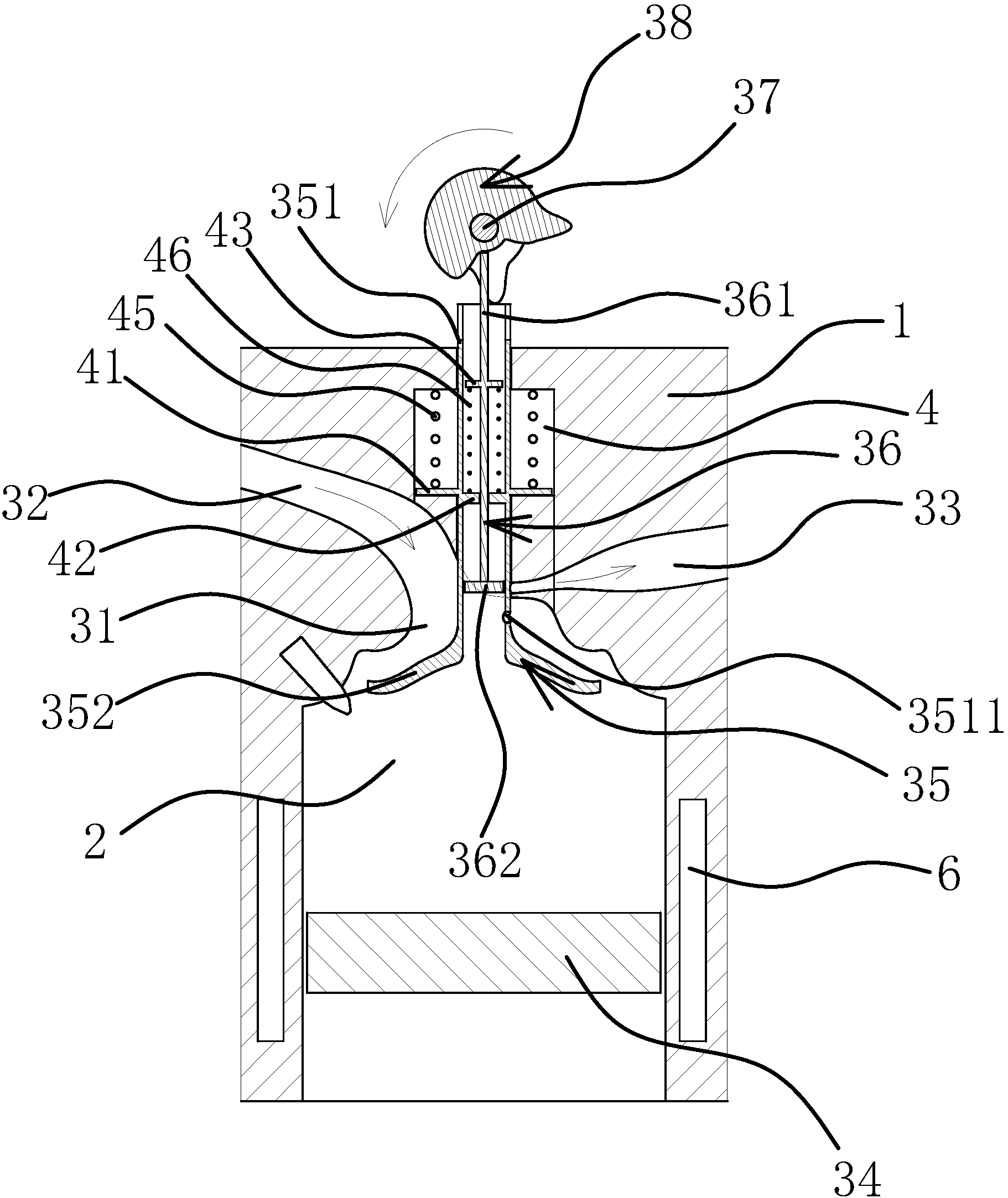
一种小电流接地装置
湖北科技学院
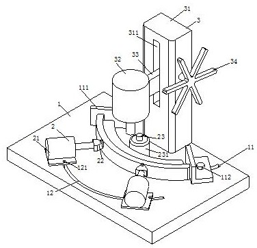
一种社区安防便携式安防装置
咸宁职业技术学院
一种汽车发动机上的缸体结构
湖北科技学院
一种舒适性腰部健身器
咸宁职业技术学院
一种用于分离连体芯片小布袋的松紧装置
咸宁职业技术学院
一种建筑工程装饰用板材喷漆装置
咸宁职业技术学院
共16030页 转到