一种茶叶拣梗机
广元市白龙茶叶有限公司
一种侧围料架检具
四川沃捷智能装备有限公司
一种河道水体及底泥综合处理剂及制备方法
江西省科学院
一种茶叶分选机
广元市白龙茶叶有限公司
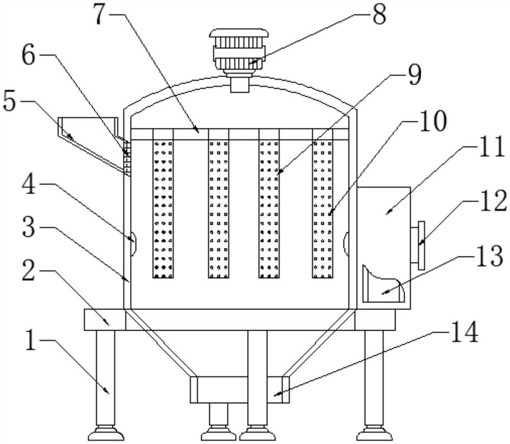
一种真空保存的原料存放装置
湖北多伦多邦水性科技股份有限公司
农业收割机的使用方法
安徽工程大学
一种茶叶切碎机
广元市白龙茶叶有限公司
一种用于铝合金门窗加工的铝棒加热装置
湖北居久安新型节能材料工程股份有限公司
一种茶叶压扁机
广元市白龙茶叶有限公司
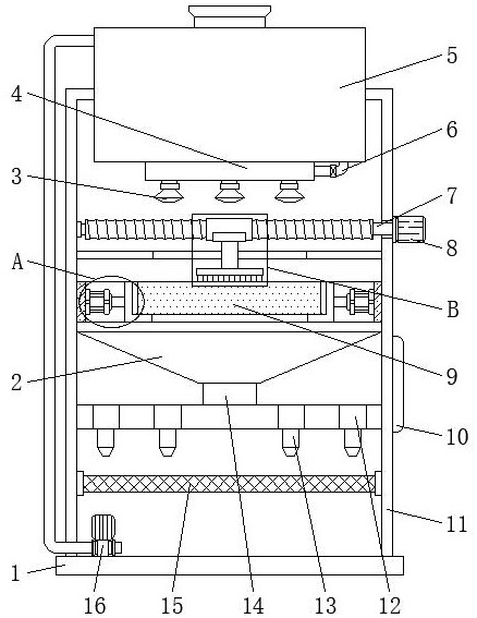
一种桂花分选生产线上的物料提升机构
湖北八月花食品股份有限公司
一种茶叶脱毫机
广元市白龙茶叶有限公司
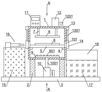
一种秸秆还田一体化设备
安徽工程大学
一种顶盖料架检具
四川沃捷智能装备有限公司
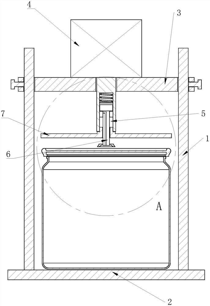
一种卡接式包装容器的压盖装置
湖北八月花食品股份有限公司
一种茶叶解块机
广元市白龙茶叶有限公司
一种激光房轨道进料装置
四川沃捷智能装备有限公司
利用大数据技术提高光伏电站能效的研究
青海天创新能源科技有限公司
一种茶叶萎凋机
广元市白龙茶叶有限公司
一种铝合金门窗加工用表面除污渍装置
湖北居久安新型节能材料工程股份有限公司
一种茶叶理条机
广元市白龙茶叶有限公司
共16030页 转到