科创中国
问题分诊室
具身智能与智慧医疗融合创新产业
高性能装备制造产业
智能机器人全产业链产业
中医药产业
人工智能产业
新一代信息技术产业
作物产业
量子科技与先进制造产业
海洋装备产业
煤炭开采及煤化工产业
特殊钢产业
节能环保产业
低空经济产业
光电产业
汽车产业
新能源产业
新材料产业
“以竹代塑”
成果发布厅
新型电力系统
化学领域
现代纺织
低空经济
信息通信
智慧公路
煤炭开采及煤化工
中医药
智能机器人全产业链
海洋装备
新一代信息技术
量子科技与先进制造
人工智能
高性能装备制造
具身智能与智慧医疗融合创新
作物
科创地方
科创北京
科创天津
科创内蒙古
科创辽宁
科创河北
科创湖南
科创宁夏
科创广东
科创江苏
科创广西
科创重庆
科创山东
科创河南
科创福建
科创黑龙江
科创湖北
科创浙江
科创山西
科创资讯
科创头条
科协活动
通知公告
科技政策
技术经理人
科技服务团
资源中心
项目库
问题库
案例库
开源库
学术资源
会议展览
品牌栏目
院士开讲
解码新质生产力
金融服务云课堂
企创云课堂
有问题想咨询
有成果想转化
我的交易
我的会议
我报名的路演会议
我的资讯
我的消息
我的动态
我的需求
我的成果
我的
个人资料编辑
退出登录
登录/注册
科创中国
需求发布
成果发布
科创案例库
揭榜挂帅
技术经理人
会议展览
科创联合体
科技服务团
科创资讯
科技政策
院士开讲
学术资源
城市站点
协作站点
搜索
问题库
项目库
开源库
English
我的交易
我的会议
我报名的路演会议
我的资讯
我的消息
我的动态
我的需求
我的成果
我的
个人资料编辑
退出登录
登录/注册
组织入驻
隐藏工作区
全国
在线展厅
切换展厅
全国
北京市
天津市
河北省
山西省
内蒙古
辽宁省
吉林省
黑龙江省
上海市
江苏省
浙江省
安徽省
福建省
江西省
山东省
河南省
湖北省
湖南省
广东省
广西
海南省
重庆市
四川省
贵州省
云南省
西藏
陕西省
甘肃省
青海省
宁夏
新疆
新疆兵团
路演活动
科技成果
参观
人数
0
0
0
0
0
0
0
点赞
人数
0
0
0
0
0
0
0
技术领域
全部
新兴行业
|
新基建
|
电子信息
|
高端产业
|
生物医药
|
石化与新材料
|
智能机械与光机电一体化
|
节能环保
|
新能源
|
现代农业
|
高端技术服务业
|
农林牧副渔
|
城建规划
|
文化创意
|
矿山工程
|
冶金工程
|
企业管理
|
知识产权
|
智库咨询
|
旅游休闲娱乐
|
企业发展服务
|
电子商务
|
纺织
|
其他
|
更多
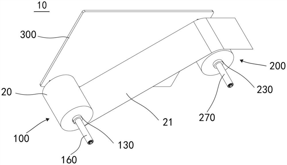
一种活动铰链及具有该活动铰链的柜门连接结构
湖北科技学院
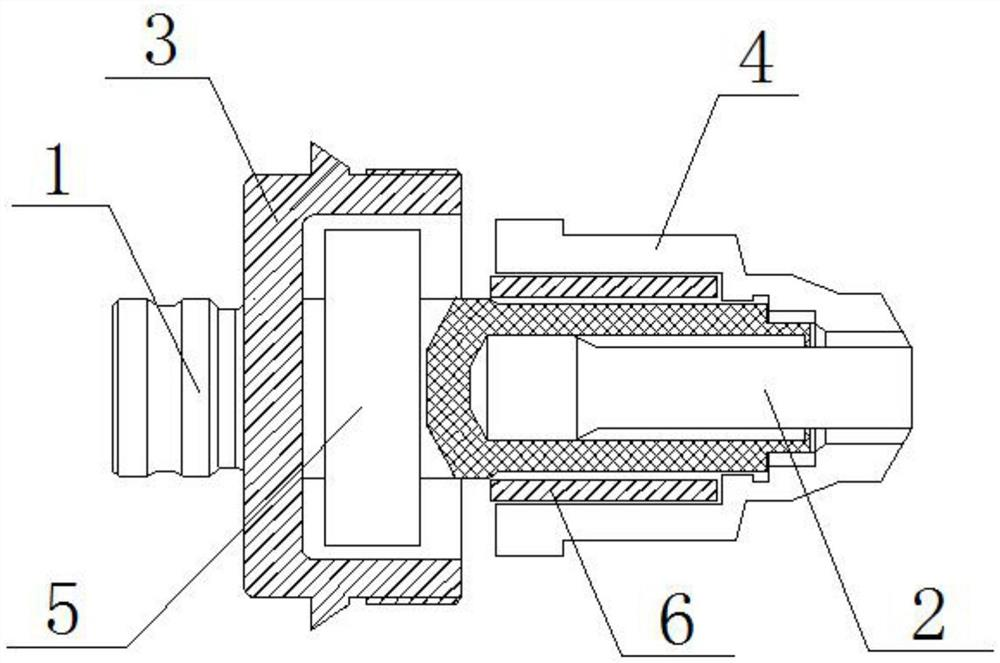
覆膜装置
维达力实业(赤壁)有限公司
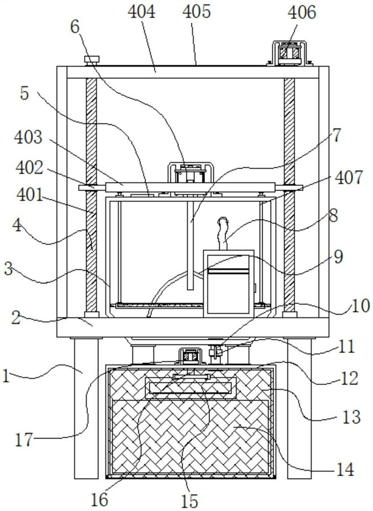
一种标线涂料喷涂装置
湖北科技学院
一种可移动式热熔胶装订机
崇阳县天人印刷有限责任公司
一种纺纱生产线移动吸尘装置
湖北精亚麻业有限公司
一种可调节附墙支座
湖北勒华装备制造有限公司
一种维生素B6生产用环合釜
湖北惠生药业有限公司
一种汽车空调用压缩机
咸宁职业技术学院
一种可生物降解塑料袋加工用混合装置
湖北嘉鑫环保新材料科技有限公司
一种生殖医学临床用样本存储器
咸宁市咸安区金桂路228号
一种可生物降解塑料袋生产用塑料颗粒融化装置
湖北嘉鑫环保新材料科技有限公司
一种可生物降解塑料袋加工用收卷装置
湖北嘉鑫环保新材料科技有限公司
一种液压动力转向器密封螺母
湖北北辰汽车转向系统有限公司
一种带有尾料回收机构的涂料加工设备
武汉宏桥涂料股份有限公司
一种可生物降解塑料袋加工用吹膜机
湖北嘉鑫环保新材料科技有限公司
一种亚麻纱连线生产管纱自动落位装置
湖北精亚麻业有限公司
一种生态板加工用涂胶装置
湖北三森木业股份有限公司
一种摄像头超级黑模组撕膜组件
湖北三赢兴光电科技股份有限公司
一种粗纱混纺平滑升降装置
湖北精华纺织集团有限公司
一种混纺初加工自动加湿装置
湖北精华纺织集团有限公司
首页
上一页
5711
5712
5713
5714
5715
5716
5717
下一页
尾页
共16030页 转到
页