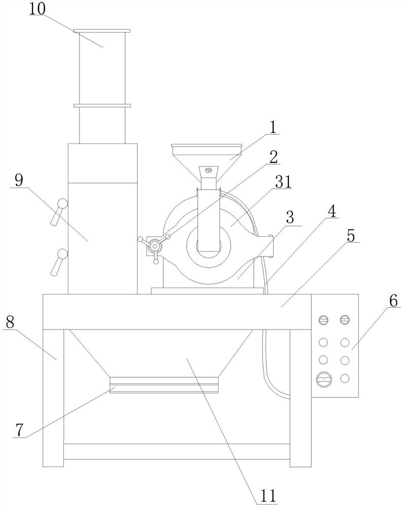
一种涡轮自冷式无尘粉碎机
湖北科技学院
烛台(树木漫步)
四川国际标榜职业学院
一种瓦楞纸板用压痕模切装置
湖北科技学院
一种猪饲料搅拌装置
通山富锦生态养殖股份有限公司
一种立体化药材种植装置
湖北科技学院
一种大广角镜头调焦灯箱
湖北三赢兴光电科技股份有限公司
一种可拆卸式抗干扰磁环
湖北科技学院
一种钢制轮辐加工用方便调节的打磨抛光装置
咸宁兴民钢圈有限公司
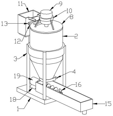
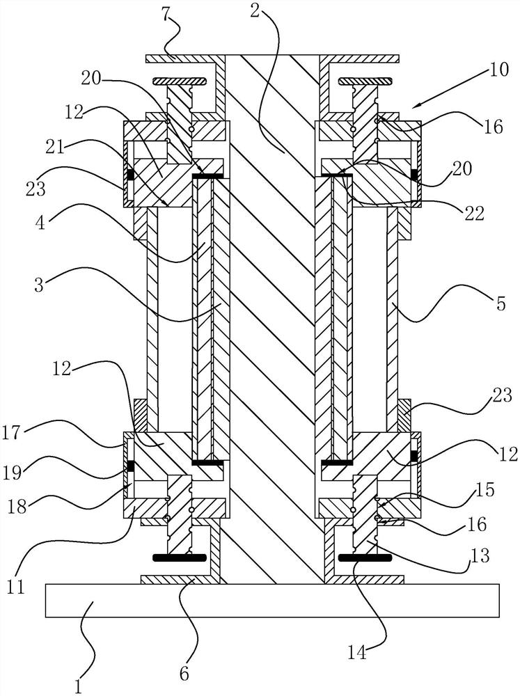
一种间断式粉煤灰进料取样装置
湖北诚石科技有限公司
茶几(曲线)
四川国际标榜职业学院
一种干式变压器
湖北科技学院
一种可生物降解塑料袋制袋机的热封装置
湖北科技学院
一种降解塑料地膜角料粉碎造粒机
佰能高分子材料(湖北)有限公司
一种可视化茶叶存储装置
通城县黄源岭茶叶种植专业合作社
一种水刺无纺布的裁边装置
湖北龙兴无纺科技有限公司
机柜门锁
湖北华腾科技设备制造有限公司
一种氢燃料电池双极板模压冲孔一体装置
武汉喜玛拉雅光电科技股份有限公司
一种运动耳机
湖北科技学院
装饰盘(漆盘1)
四川国际标榜职业学院
一种PP包装箱加工用喷涂装置
湖北科技学院
共16030页 转到