科创中国
问题分诊室
具身智能与智慧医疗融合创新产业
高性能装备制造产业
智能机器人全产业链产业
中医药产业
人工智能产业
新一代信息技术产业
作物产业
量子科技与先进制造产业
海洋装备产业
煤炭开采及煤化工产业
特殊钢产业
节能环保产业
低空经济产业
光电产业
汽车产业
新能源产业
新材料产业
“以竹代塑”
成果发布厅
新型电力系统
化学领域
现代纺织
低空经济
信息通信
智慧公路
煤炭开采及煤化工
中医药
智能机器人全产业链
海洋装备
新一代信息技术
量子科技与先进制造
人工智能
高性能装备制造
具身智能与智慧医疗融合创新
作物
科创地方
科创北京
科创天津
科创内蒙古
科创辽宁
科创河北
科创湖南
科创宁夏
科创广东
科创江苏
科创广西
科创重庆
科创山东
科创河南
科创福建
科创黑龙江
科创湖北
科创浙江
科创山西
科创资讯
科创头条
科协活动
通知公告
科技政策
技术经理人
科技服务团
资源中心
项目库
问题库
案例库
开源库
学术资源
会议展览
品牌栏目
院士开讲
解码新质生产力
金融服务云课堂
企创云课堂
有问题想咨询
有成果想转化
我的交易
我的会议
我报名的路演会议
我的资讯
我的消息
我的动态
我的需求
我的成果
我的
个人资料编辑
退出登录
登录/注册
科创中国
需求发布
成果发布
科创案例库
揭榜挂帅
技术经理人
会议展览
科创联合体
科技服务团
科创资讯
科技政策
院士开讲
学术资源
城市站点
协作站点
搜索
问题库
项目库
开源库
English
我的交易
我的会议
我报名的路演会议
我的资讯
我的消息
我的动态
我的需求
我的成果
我的
个人资料编辑
退出登录
登录/注册
组织入驻
隐藏工作区
全国
在线展厅
切换展厅
全国
北京市
天津市
河北省
山西省
内蒙古
辽宁省
吉林省
黑龙江省
上海市
江苏省
浙江省
安徽省
福建省
江西省
山东省
河南省
湖北省
湖南省
广东省
广西
海南省
重庆市
四川省
贵州省
云南省
西藏
陕西省
甘肃省
青海省
宁夏
新疆
新疆兵团
路演活动
科技成果
参观
人数
0
0
0
0
0
0
0
点赞
人数
0
0
0
0
0
0
0
技术领域
全部
新兴行业
|
新基建
|
电子信息
|
高端产业
|
生物医药
|
石化与新材料
|
智能机械与光机电一体化
|
节能环保
|
新能源
|
现代农业
|
高端技术服务业
|
农林牧副渔
|
城建规划
|
文化创意
|
矿山工程
|
冶金工程
|
企业管理
|
知识产权
|
智库咨询
|
旅游休闲娱乐
|
企业发展服务
|
电子商务
|
纺织
|
其他
|
更多
一种基于关键控制因子的地表水水质变化趋势预测方法
西安交通大学
一种改进人工势场算法的智能车路径规划方法
安徽工程大学
智慧供暖软硬件产品、AI控制策略及整体解决方案
北京创业投资协会
治疗领域的均衡产品组合
北京创业投资协会
一种含油废气处理装置及方法
江南大学
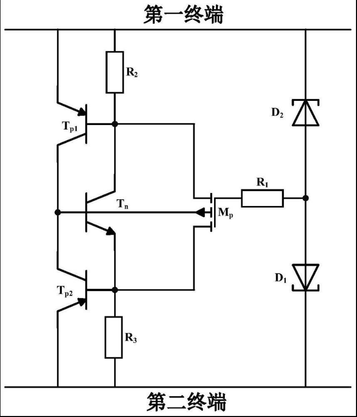
一种双向内嵌MOS管的静电浪涌防护集成电路及方法
江南大学
基于材料挤出与光固化复合成型的增材制造设备及方法
江南大学
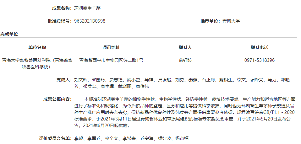
环湖寒生羊茅
青海大学畜牧兽医科学院(青海省畜牧兽医科学院)
青海扁茎早熟禾
青海大学畜牧兽医科学院(青海省畜牧兽医科学院)
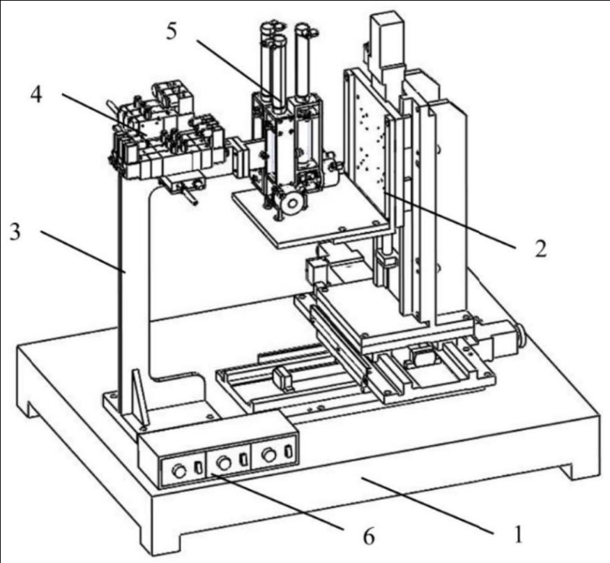
一种多状态调节无人车
安徽工程大学
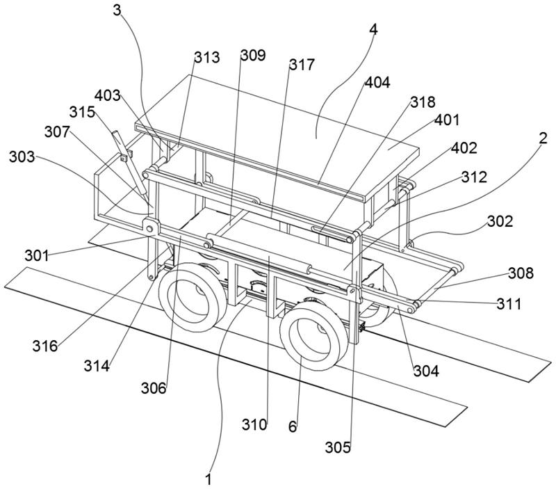
一种具有冷却功能的电动驱动轮
安徽工程大学
盐湖原卤高效提锂技术研究
五矿盐湖有限公司
海南州藏羊划区轮牧信息智能监测关键技术与管理系统集成研究
青海民族大学
一种除藻船
江南大学
盐湖粉砂含水层卤水矿的空气驱动采卤技术研究
五矿盐湖有限公司
智能驾驶关键传感器及系统
北京创业投资协会
青株种子纯度SNP分子标记鉴定技术规程
中国科学院西北高原生物研究所
血管内介入手术模拟系统
中国科学院深圳先进技术研究院
特异性兴奋伏隔核中的GABA能神经元的组合物及其在改善精神分裂症异样行为中的应用
中国科学院深圳先进技术研究院
一种基于纳米细菌纤维素的光敏抗菌抗氧化复合保鲜膜及其制备方法和应用
江南大学
首页
上一页
5670
5671
5672
5673
5674
5675
5676
下一页
尾页
共16030页 转到
页