南美白对虾发酵饲料的制备及其使用方法
天津科技大学
耗牛养殖档案建立规范
青海省牦牛推广服务中心(青海省大
新型光催化网及光催化剂应用于环境保护
上海技术交易所
南美白对虾温棚分级养殖高产技术
天津科技大学
数字功放芯片开发技术
安耐科电子技术(佛山)有限公司
一种造纸新型絮凝剂项目
中关村天合科技成果转化促进中心
渤海风暴潮变化分析与预测技术研究
天津科技大学
冷轧带钢高精度辊涂技术及装备
中冶南方工程技术有限公司
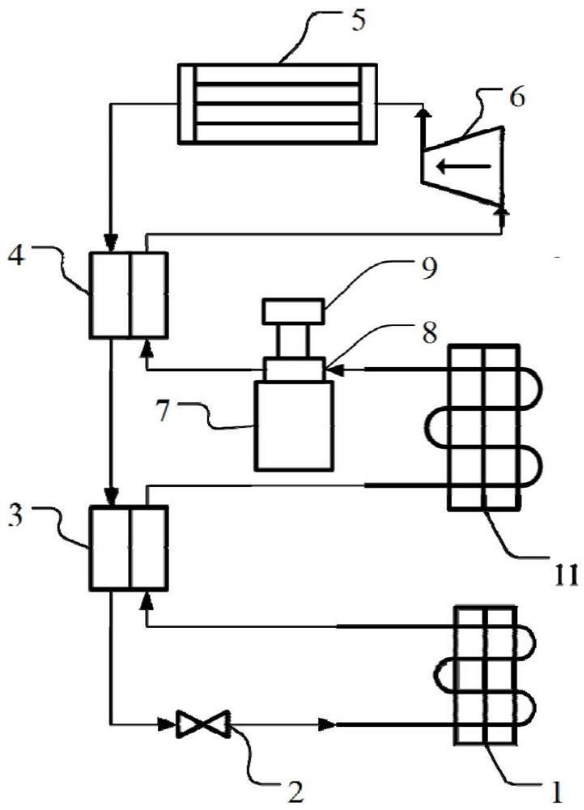
耦合多温区制冷系统
西安交通大学
芯片知识产权分析及安全检测
北京创业投资协会
分散染料免蒸化免水洗印花的节能应用技术
绍兴市天基印刷材料厂
一种自适应的燃气轮机轮盘型线优化方法
西安交通大学
建筑用纤维基吸音阻燃薄页材料
中关村天合科技成果转化促进中心
森林防火隔离带建设技术规程
青海大学农林科学院(青海省农林科学院)
超高过滤性能纳米熔喷布制作技术
佛山市钜联智创科技有限责任公司
一种用于薄膜复合的同步驱动对辊装置
华中科技大学
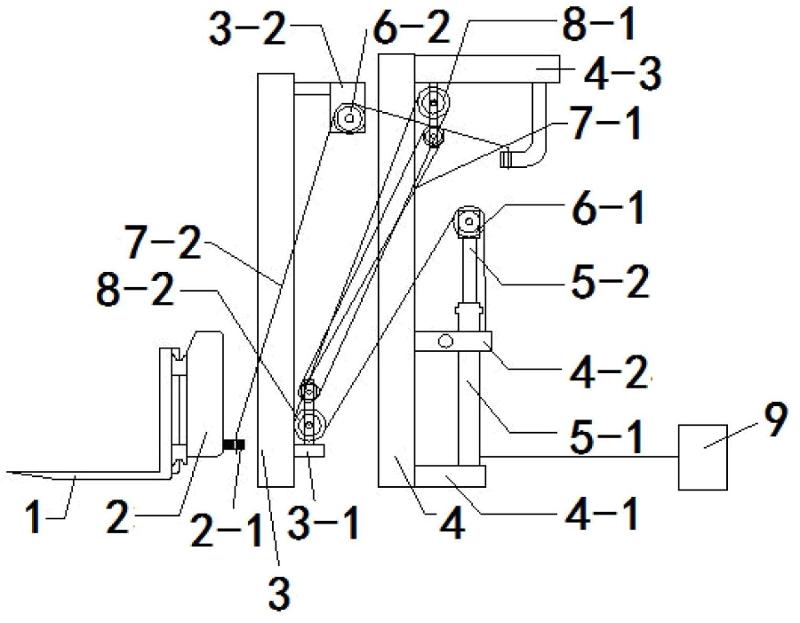
一种叉车升降机构
安徽工程大学
西安电子废弃物 Se 回收循环经济项
西安电子科技大学
通信铁塔加固装置的制备及应用研究
中国铁塔股份有限公司青海省分公司
为促进科学技术产业化的发展,希望能够充分利用对方广泛的市场资源优势和科研平台能力,实现技术研发与市场
西安交通大学
共16030页 转到