激光脉冲乳腺治疗装置
徐州市广科新技术发展有限公司
一种区块链链上数据存档方法及系统
暗链科技(深圳)有限公司
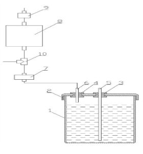
开环式快速测量水中镭浓度的方法
衡阳师范学院
开环式自适应测量水中镭浓度的方法
衡阳师范学院
基于区块分布式区块链的节点通讯方法及电子设备
暗链科技(深圳)有限公司
一种结构件树脂融渗质量控制方法及系统
西安交通大学
一种犬细小病毒卵黄抗体及其制备方法
衡阳师范学院
现有道路声屏障提质增效技术
上海交通大学
一种出门提醒携带物品装置
湖北文理学院
一种钴酸锰中空微球及其应用
四川轻化工大学
有效进行散热的智能养蜂箱
四川天府蜂谷科技有限公司
一种面向船舶的光伏发电系统最大功率点跟踪控制方法
武汉理工大学
一种面向切片数据的三维体积重构方法
西安交通大学
一种无机有机含DOPO阻燃剂及其制备方法和应用
衡阳师范学院
青桓冰葡萄酒
山东千亩园葡萄酒庄有限公司
肝素钠粗品
广州华旋生物科技有限公司
一种枳椇茶酒及其酿造方法
四川轻化工大学
一种基于图像处理的散杂货堆体积测量方法及实现所述方法的系统
燕山大学
一种基于反铁电陶瓷材料的脉冲方波产生方法
西安交通大学
一种电水箱及其控制方法
衡阳师范学院
共16030页 转到