复方金银花颗粒
黑龙江乌苏里江制药有限公司
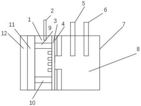
铜铝钎焊专用无缝 药芯钎料
机械科学研究总院南方中心
刺五加片
黑龙江乌苏里江制药有限公司
轻量化柔性压电膜技术及应用
上海技术交易所
一种防脱落腹膜透析管
上海技术交易所
一种新型多功能组合式中蜂蜂箱
四川天府蜂谷科技有限公司
一种靶向治疗用人工趋磁细菌及其构建方法和应用
中国科学院深圳先进技术研究院
一种益生菌胶囊的壁材及益生菌微胶囊的制备技术
畅滋元健康食品科技有限公司
一种石材线条机
雅安正兴汉白玉股份有限公司
痹痛宁胶囊
黑龙江乌苏里江制药有限公司
PDC钎焊专用钎料
机械科学研究总院南方中心
八肽胆囊收缩素在制药中的应用
河北医科大学
便携式口腔检测仪
上海技术交易所
北豆根胶囊
黑龙江乌苏里江制药有限公司
用于评估燃料电池催化剂氧还原活性的气体电极装置
武汉理工大学
一种大理石表层打磨机
雅安正兴汉白玉股份有限公司
金刚石旋耕刀
机械科学研究总院南方中心
汉白玉废浆快速沉淀分离装置
雅安正兴汉白玉股份有限公司
筒子纱数字化自动染色生产线
机械科学研究总院南方中心
一种用于金属零件再制造的电磁辅助激光同步熔覆装置及方法
武汉理工大学
共16030页 转到