科创中国
问题分诊室
具身智能与智慧医疗融合创新产业
高性能装备制造产业
智能机器人全产业链产业
中医药产业
人工智能产业
新一代信息技术产业
作物产业
量子科技与先进制造产业
海洋装备产业
煤炭开采及煤化工产业
特殊钢产业
节能环保产业
低空经济产业
光电产业
汽车产业
新能源产业
新材料产业
“以竹代塑”
成果发布厅
新型电力系统
化学领域
现代纺织
低空经济
信息通信
智慧公路
煤炭开采及煤化工
中医药
智能机器人全产业链
海洋装备
新一代信息技术
量子科技与先进制造
人工智能
高性能装备制造
具身智能与智慧医疗融合创新
作物
科创地方
科创北京
科创天津
科创内蒙古
科创辽宁
科创河北
科创湖南
科创宁夏
科创广东
科创江苏
科创广西
科创重庆
科创山东
科创河南
科创福建
科创黑龙江
科创湖北
科创浙江
科创山西
科创资讯
科创头条
科协活动
通知公告
科技政策
技术经理人
科技服务团
资源中心
项目库
问题库
案例库
开源库
学术资源
会议展览
品牌栏目
院士开讲
解码新质生产力
金融服务云课堂
企创云课堂
有问题想咨询
有成果想转化
我的交易
我的会议
我报名的路演会议
我的资讯
我的消息
我的动态
我的需求
我的成果
我的
个人资料编辑
退出登录
登录/注册
科创中国
需求发布
成果发布
科创案例库
揭榜挂帅
技术经理人
会议展览
科创联合体
科技服务团
科创资讯
科技政策
院士开讲
学术资源
城市站点
协作站点
搜索
问题库
项目库
开源库
English
我的交易
我的会议
我报名的路演会议
我的资讯
我的消息
我的动态
我的需求
我的成果
我的
个人资料编辑
退出登录
登录/注册
组织入驻
隐藏工作区
全国
在线展厅
切换展厅
全国
北京市
天津市
河北省
山西省
内蒙古
辽宁省
吉林省
黑龙江省
上海市
江苏省
浙江省
安徽省
福建省
江西省
山东省
河南省
湖北省
湖南省
广东省
广西
海南省
重庆市
四川省
贵州省
云南省
西藏
陕西省
甘肃省
青海省
宁夏
新疆
新疆兵团
路演活动
科技成果
参观
人数
0
0
0
0
0
0
0
点赞
人数
0
0
0
0
0
0
0
技术领域
全部
新兴行业
|
新基建
|
电子信息
|
高端产业
|
生物医药
|
石化与新材料
|
智能机械与光机电一体化
|
节能环保
|
新能源
|
现代农业
|
高端技术服务业
|
农林牧副渔
|
城建规划
|
文化创意
|
矿山工程
|
冶金工程
|
企业管理
|
知识产权
|
智库咨询
|
旅游休闲娱乐
|
企业发展服务
|
电子商务
|
纺织
|
其他
|
更多
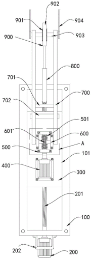
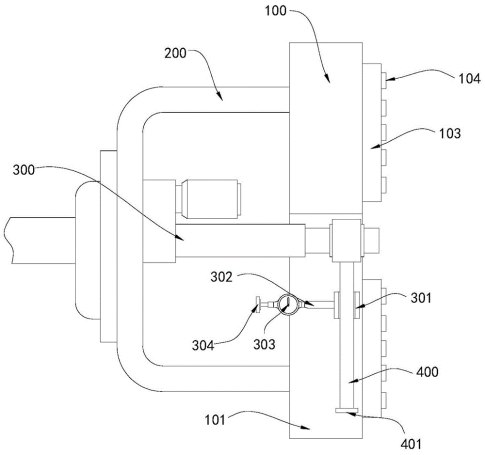
片状吸收剂在高填充比吸波涂层中自发取向的方法
武汉理工大学
一种具有调节机构的可伸缩智能雨棚
电子科技大学成都学院
一种基于SERS检测技术的过滤式微流控细菌芯片及使用方法
四川轻化工大学
一种用于船舶靠泊的磁性岸端协同装置
武汉理工大学
一种猕猴桃分选装置
广元市天垠农业开发有限公司
高钠钾盐矿的冷分解结晶及浮选方法制备大颗粒氯化钾的系统及工艺
天津科技大学
一种自我考验英语学习能力的多功能英语练习装置
四川信息职业技术学院
一种智能船舶靠泊用的岸端牵引装置
武汉理工大学
纳米磁珠
广州奕昕生物科技有限公司
一种CNG储气井壁多路超声测厚方法
四川轻化工大学
用于SAR图像的目标分类方法
电子科技大学成都学院
水果加工用投料装置
广元市天垠农业开发有限公司
虚实融合的船舶智能测试平台与方法
武汉理工大学
双苯氟嗪的制备方法及以该制备方法制取的双苯氟嗪在制备治疗心脑血管疾病的药物中的应用
河北医科大学
宽光谱、低电压高增益的 飞秒激光改性黑硅光电探测器
南开大学
一种电火花线切割双供液系统及电火花线切割方法
四川轻化工大学
一种泡沫陶瓷结构组装成的海上环岛平台
武汉理工大学
一种基于行人重识别的公共场所多态行人目标识别追踪方法、电子设备及存储介质
电子科技大学成都学院
一种制备果汁的过滤器
广元市天垠农业开发有限公司
双苯氟嗪的制备方法
河北医科大学
首页
上一页
5611
5612
5613
5614
5615
5616
5617
下一页
尾页
共16030页 转到
页