一种风管快速收放改善装置
广元市林丰铝电有限公司
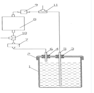
Po-218、Po-214总计数闭环式测量水中镭浓度的方法
衡阳师范学院
一种尿道扩张装置
重庆科艺华创业服务股份有限公司
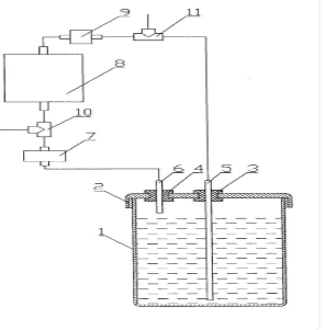
Po-218、Po-214总计数闭环式两段法测量水中镭浓度的方法
衡阳师范学院
一种新型出铝抬包人孔口
广元市林丰铝电有限公司
闭环式静电收集两周期测量水中镭浓度的方法
衡阳师范学院
一种多功能三维模型展示装置
成都东软学院
一种铝棒生产成型加工用清刷装置
广元市林丰铝电有限公司
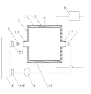
环形电极提高氡析出率测量仪对218Po收集效率的测量腔及方法
衡阳师范学院
一种打渣工位安全防护用的防护栏
广元市林丰铝电有限公司
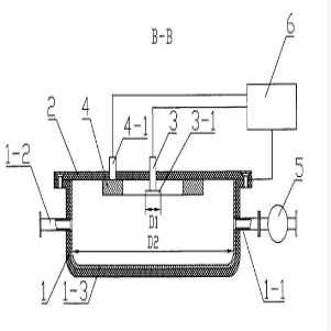
环形电极提高带正电的218Po收集效率的测量腔及方法
衡阳师范学院
网络请求防护方法及网络通信系统
成都东软学院
一种压脱机入口防撞结构
广元市林丰铝电有限公司
测量空气中水蒸气分子电离率的装置及方法
衡阳师范学院
一种可适应炭块尺寸的炭块生产装置
广元市林丰铝电有限公司
覆膜播种一体机
成都东软学院
一种电解槽墙面结构
广元市林丰铝电有限公司
一种具有移动导杆的卧式校杆机用支座
广元市林丰铝电有限公司
Po-218、Po-214总计数开环式测量水中镭浓度的方法
衡阳师范学院
一种碳灰收集系统
广元市林丰铝电有限公司
共16030页 转到