一种报警式油变液位测量装置
山东宝光电力科技有限公司
一种冷轧带材的轧后板形表示方法
燕山大学
一株Sphingobacterium hotanense在防治寄生线虫病上的应用
山东农业大学
白灰预热器推杆密封结构
菏泽双龙冶金机械有限公司
新节奏信息系统集成服务器监控集成系统
湖南新节奏智能科技有限公司
可调控石灰回转窑预热器
菏泽双龙冶金机械有限公司
一种用于氮化镓在液相中刻蚀的飞秒激光加工装置及方法
山东大学
封闭截面构件高强单边连接技术及装备
上海技术交易所
一种无人农场用的浇灌系统营养液自动添加装置
重庆高鹏生态农业有限公司
具有压电效应的陶瓷刀具材料及其制备方法与切削刀具
山东大学
一种煅白生产机
菏泽双龙冶金机械有限公司
一种基于氧化石墨烯基的表面增强拉曼传感器对真菌毒素的比率型检测法
江南大学
一种卧式耕水机
浙江浙农检测认证技术有限公司
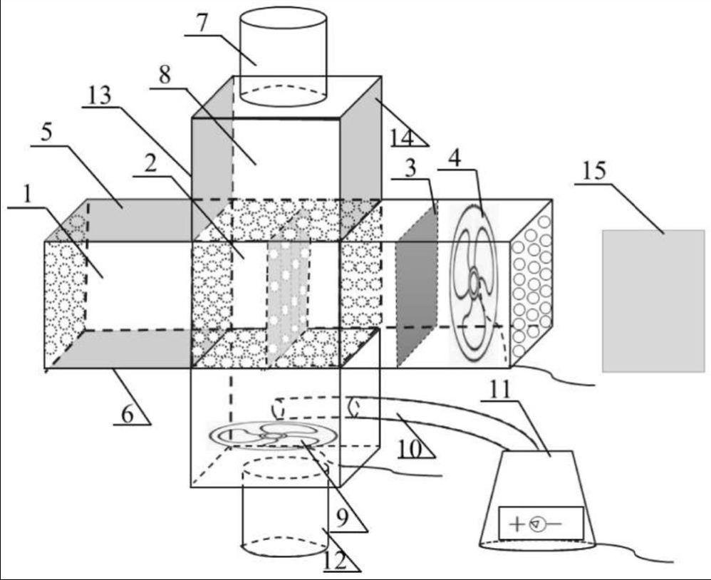
一种室内CO2空气净化的装置与方法
西北大学
智能后视镜
广州卓帝电子科技有限公司
新节奏数字化多媒体方案展示平台
湖南新节奏智能科技有限公司
中国黄金集团建设有限公司乌山边坡治理项目
中晋(内蒙古)资源环境科技有限公司
防蓝光膜成膜液及其制备方法及防蓝光膜
唐山市第一中学
基于国产操作系统的激光保密信息传输技术
山东大通前沿电子科技股份有限公司
现代化煎药中心(智慧中药房)
北京东华原医疗设备有限责任公司
共16030页 转到