一种透明质酸微泡及其制备方法
中国科学院深圳先进技术研究院
一种医用壳聚糖复合保湿敷料及其制备方法
中国科学院深圳先进技术研究院
云南木薯农药减施增效技术集成应用
中国热带作物产业学会
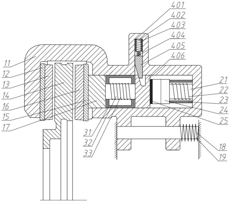
一种具有制动间隙自调节功能的电磁制动器及其控制方法
南京航空航天大学
一种在发酵过程中降低细菌纤维素结晶度的方法
中国科学院深圳先进技术研究院
骨质疏松骨固定的骨螺钉
中国科学院深圳先进技术研究院
基于数据驱动和机器学习的无人机飞行工况预测方法
南京航空航天大学
黑小麦新品种——临黑187
山西农业大学小麦研究所
超高速电池包测试设备
青岛美凯麟科技股份有限公司
电源系统
重庆创新燃料电池技术产业研究院有限公司
一种旋压机的旋压轮结构
咸宁兴民钢圈有限公司
一种线束的剥线机
武汉市建成电气有限公司
一种卧式回转反应机
小麦新品种“河农6133”生产经营权转让
河北农业大学
一种浮法玻璃熔窑上的除浮渣装置
咸宁南玻玻璃有限公司
一种组织器官标本陈列盒
湖北科技学院
智慧充电服务
奥利能源系统
小麦品种“河农7008”生产经营权转让
河北农业大学
一种在线扫描激光厚度监测仪器
湖北省金中德科技机械设备有限责任公司
一种改良的脐带剥离剪
湖北科技学院
共16030页 转到