科创中国
问题分诊室
具身智能与智慧医疗融合创新产业
高性能装备制造产业
智能机器人全产业链产业
中医药产业
人工智能产业
新一代信息技术产业
作物产业
量子科技与先进制造产业
海洋装备产业
煤炭开采及煤化工产业
特殊钢产业
节能环保产业
低空经济产业
光电产业
汽车产业
新能源产业
新材料产业
“以竹代塑”
成果发布厅
新型电力系统
化学领域
现代纺织
低空经济
信息通信
智慧公路
煤炭开采及煤化工
中医药
智能机器人全产业链
海洋装备
新一代信息技术
量子科技与先进制造
人工智能
高性能装备制造
具身智能与智慧医疗融合创新
作物
科创地方
科创北京
科创天津
科创内蒙古
科创辽宁
科创江苏
科创广西
科创广东
科创重庆
科创宁夏
科创河北
科创山东
科创河南
科创福建
科创湖南
科创黑龙江
科创湖北
科创浙江
科创山西
科创资讯
科创头条
科协活动
通知公告
科技政策
技术经理人
科技服务团
资源中心
项目库
问题库
案例库
开源库
学术资源
会议展览
品牌栏目
院士开讲
解码新质生产力
金融服务云课堂
企创云课堂
有问题想咨询
有成果想转化
我的交易
我的会议
我报名的路演会议
我的资讯
我的消息
我的动态
我的需求
我的成果
我的
个人资料编辑
退出登录
登录/注册
科创中国
需求发布
成果发布
科创案例库
揭榜挂帅
技术经理人
会议展览
科创联合体
科技服务团
科创资讯
科技政策
院士开讲
学术资源
城市站点
协作站点
搜索
问题库
项目库
开源库
English
我的交易
我的会议
我报名的路演会议
我的资讯
我的消息
我的动态
我的需求
我的成果
我的
个人资料编辑
退出登录
登录/注册
组织入驻
隐藏工作区
全国
在线展厅
切换展厅
全国
北京市
天津市
河北省
山西省
内蒙古
辽宁省
吉林省
黑龙江省
上海市
江苏省
浙江省
安徽省
福建省
江西省
山东省
河南省
湖北省
湖南省
广东省
广西
海南省
重庆市
四川省
贵州省
云南省
西藏
陕西省
甘肃省
青海省
宁夏
新疆
新疆兵团
路演活动
科技成果
参观
人数
0
0
0
0
0
0
0
点赞
人数
0
0
0
0
0
0
0
技术领域
全部
新兴行业
|
新基建
|
电子信息
|
高端产业
|
生物医药
|
石化与新材料
|
智能机械与光机电一体化
|
节能环保
|
新能源
|
现代农业
|
高端技术服务业
|
农林牧副渔
|
城建规划
|
文化创意
|
矿山工程
|
冶金工程
|
企业管理
|
知识产权
|
智库咨询
|
旅游休闲娱乐
|
企业发展服务
|
电子商务
|
纺织
|
其他
|
更多
一种电解水技术及设备
中国兵工学会
食品中多种农残和环境污染物的前处理方法及分析方法
济南专利应用研究会
冷连轧过程中间厚度在线设定方法
燕山大学
科技政策数据采集系统V1.0
东莞市科兜网信息科技有限公司
一种基于单目视觉的激光切割随动系统
济南专利应用研究会
经编装备集成控制系统关键技术与产业化
江南大学
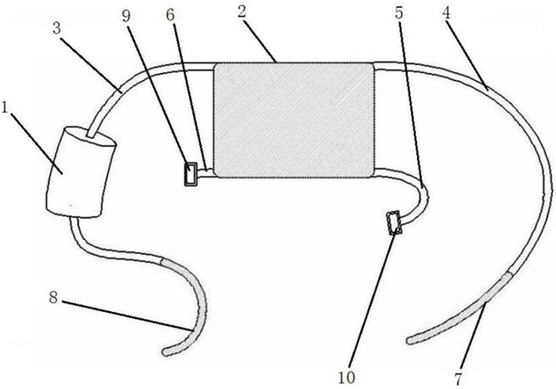
用于偏瘫患者肩关节半脱位康复的动态肩部悬吊装置
徐州市康复医院
经济管理用多功能教学演示装置
咸宁职业技术学院
一种桥梁用Q420qE级超低碳贝氏体钢的焊接方法
燕山大学
凯迪煤业200KW智能井上/井下远程控制掘进成果
三一重型装备有限公司
基于企业科技创新服务管理系统V1.0
东莞市科兜网信息科技有限公司
一种提升合成云母板外观色度的方法
湖北平安电工股份有限公司
一种浸没耦合液气相变的数据中心冷源一体化供应装置
济南专利应用研究会
一种应用聚苯胺改善储氢合金粉末电化学性能的方法
燕山大学
太阳能电池户外自动测试装置
中国科学院大连化学物理研究所
基于大数据的科技服务综合管理平台V1.0
东莞市科兜网信息科技有限公司
大力推广人工种草、推进畜牧业转型、推动草业发展
西藏高原草业工程技术研究中心主任
基于移动互联网的跨平台智能终端推送系统V1.0
东莞市科兜网信息科技有限公司
一种用于病理切片检测的光子晶体
湖北科技学院
宣汉上峡160KW井下智能掘进成果
三一重型装备有限公司
首页
上一页
5423
5424
5425
5426
5427
5428
5429
下一页
尾页
共16022页 转到
页