一种热泵耦合氮气循环的农产品干制装置
济南专利应用研究会
代谢组学技术
中国科学院大连化学物理研究所
一种保温玻璃纤维塑料管道
湖北华丽塑料有限公司
一种水产饲料生产用混合装置
天津现代天骄水产饲料股份 有限公司
一种水产养殖用自动喂料装置
天津现代天骄水产饲料股份 有限公司
一种仿形磨齿机
湖北华鑫科技股份有限公司
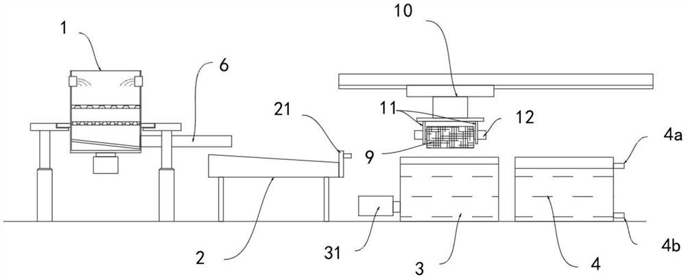
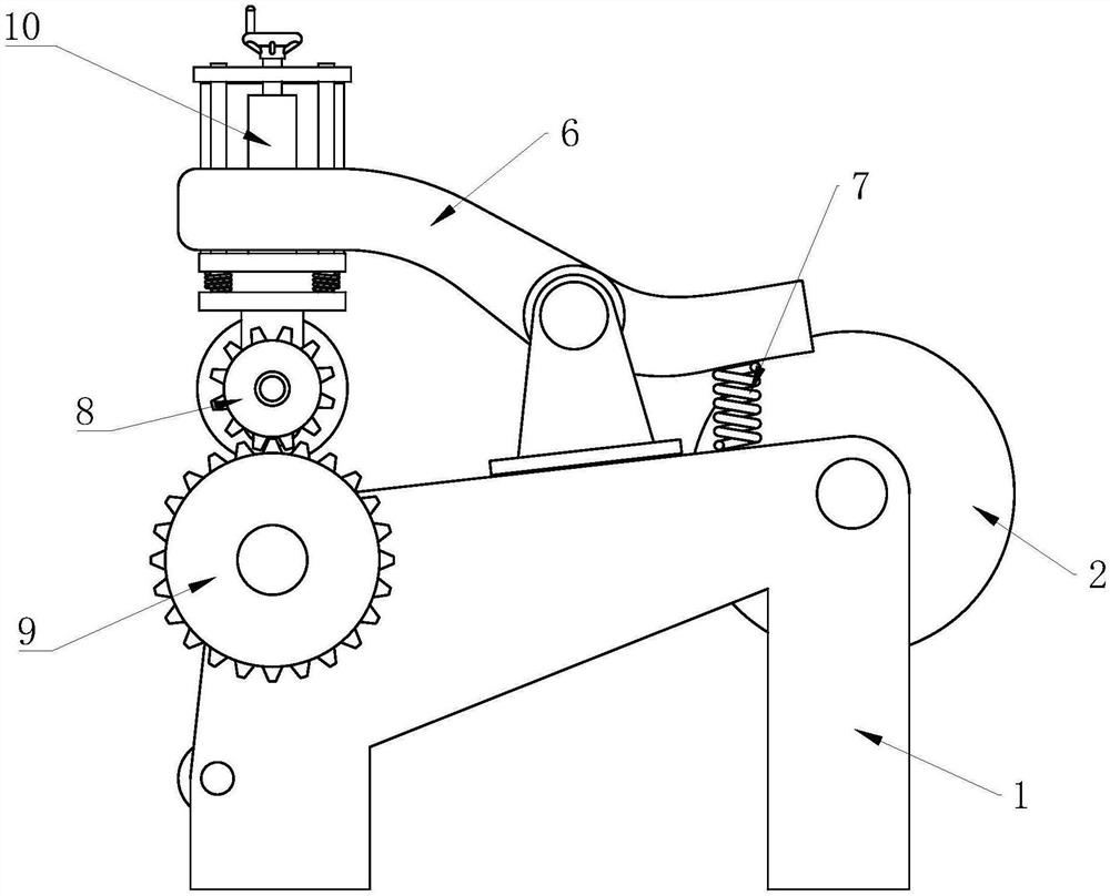
一种腌制桂花自动化除杂清洗生产线
湖北科技学院
一种用于发酵饲料的发酵罐
天津现代天骄水产饲料股份 有限公司
一种内镜治疗下的辅助通道薄膜套
徐州市第一人民医院
超分辨成像DF荧光染料
中国科学院大连化学物理研究所
VC辊平整机组板形参数设定方法
燕山大学
钢箱梁疲劳加固新技术——横隔板粘贴CFRP法与桥面STC轻量化
长沙理工大学
一种用于模组组件的清洗治具
湖北三赢兴光电科技股份有限公司
一种鱼苗开口饲料生产用超微粉碎机
天津现代天骄水产饲料股份 有限公司
纺织品改性与绿色制造:酶纺织应用技术
江南大学
一种挤出机切边胶机构
湖北华宁防腐技术股份有限公司
大跨度混凝土桥梁服役安全保障技术
长沙理工大学
一种陶粒烧结回转窑
济南专利应用研究会
耳道给药装置及其使用方法
南京大学
一种管道旋转转子钢基轮的上胶模具
湖北华宁防腐技术股份有限公司
共16022页 转到