ZK60变形镁合金晶粒组织调控及提高性能的方法
济南专利应用研究会
人脸匹配识别算法
福建省科协
多源传感器信号对刀具磨损的敏感特征提取及融合技术
江苏师范大学
一种用于除草剂加工的乳化成型机
重庆市山丹生物农药有限公司
抗肝炎中药 5 类新药肝能滴丸的研制
中华中医药学会
一种便于夹持的搪玻璃双锥真空干燥机
湖北和昌新材料科技股份有限公司
“惠农有谱”-融合无人机光谱感知技术的智慧农业平台
长沙学院
丹蒲颗粒治疗慢性前列腺炎的研究
中华中医药学会
一种数据中心浸没式散热装置
济南专利应用研究会
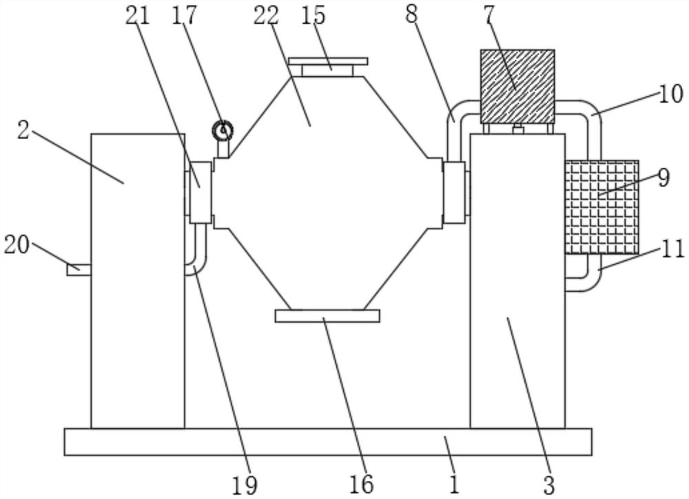
一种用于除草剂的高精度配料机
重庆市山丹生物农药有限公司-
纳米包覆颜料的开发及应用技:纳米包覆颜料结构设计
江南大学
车辆段检修作业安全联锁防误系统
四川省电子学会
一麻多用—麻类宠物用品
长沙学院
基于IPCMM算法的心电信号QRS复合波检测方法及系统
济南专利应用研究会
一种便携式特种设备检验装置
石家庄嘉宏智信知识产权代理有限公司
中药浓缩及挥发油提取关键技术研究
中华中医药学会
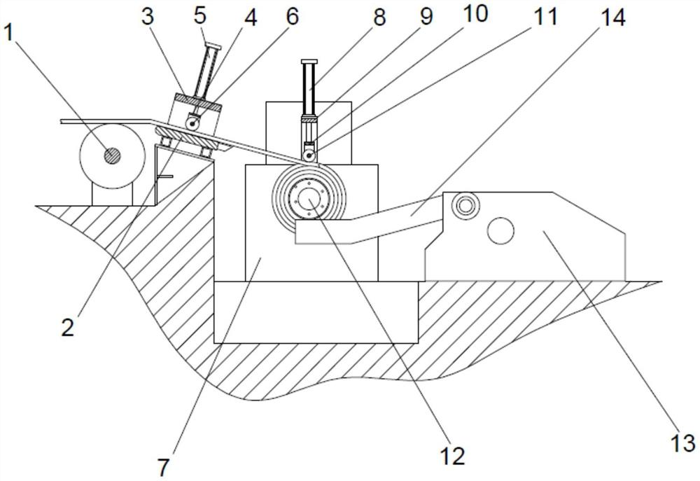
一种可筛分杂质的除草剂配比装置
重庆市山丹生物农药有限公司
切削温升的预测方法及预测模型
江苏师范大学
一种可汇集的除草剂粉末研磨机
重庆市山丹生物农药有限公司
一种收卷紧致的冷轧卷料收卷装置
湖北和乐门业有限公司
共16022页 转到