一种数控排刀车床
湖北一丰科技有限公司
海绵城市建设专项规划
中国生态城市研究院
一种可分段拆装的无卤阻燃电缆及其安装方法
武汉金牌电工股份有限公司
一种胃镜检查用口腔支撑装置
徐州市第一人民医
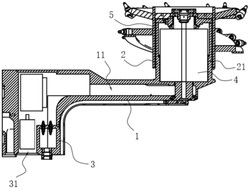
一种方便组装的锻件连杆咬合结构
湖北省汉都精密锻造有限公司
制冰单元及具有该制冰单元的冷藏冷冻装置
青岛海尔智能技术研发有限公司
一种监测制冷剂泄露风险的方法、装置及制冷设备
青岛海尔智能技术研发有限公司
一种月饼馅料加工用蒸煮夹层锅
湖北联创食品有限公司
一种桂花产品配方定量配比装置
人和桂(湖北)食品科技有限公司
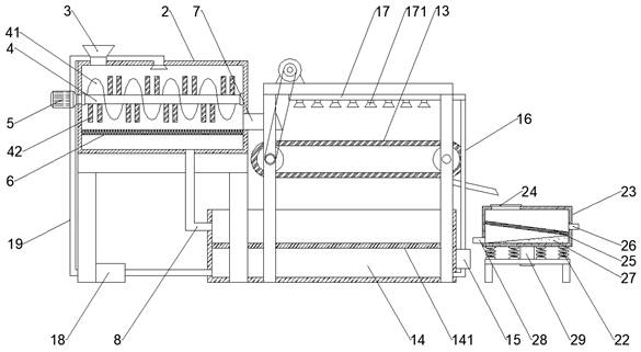
一种高效莲子磨皮机
湖北联创食品有限公司
一种永磁电机驱动的采煤机
江苏师范大学
一种莲子加工用清洗装置
湖北联创食品有限公司
一种高效节能的太阳能空气除湿机系统的控制方法
福建省科协
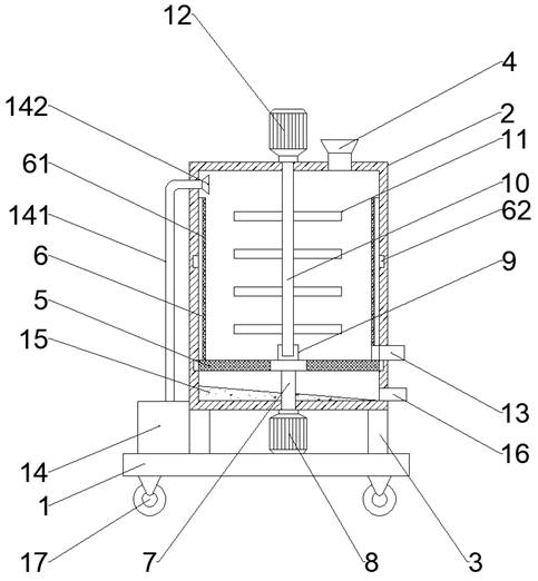
一种农业生产用莲蓬脱粒机
湖北联创食品有限公司
一种弹簧储能式汽车制动能量回收装置
长沙理工大学
生态优势推动东兰绿色产业快速发展
东兰君兰农业科技有限公司
湘绣智能大师项目
湖南师范大学
柑橘育苗基质装填与转运装备
华中农业大学
一种方便组装的发动机缸盖
重庆锋仪勇诚动力机械有限公司
旱地小麦适水减肥绿色增产技术的研发应用
山西农业大学
共16022页 转到