香橼在制备防治焦虑症的产品中的应用
江西中医药大学
牛蒡子苷元在制备抗抑郁症产品中的应用
河北医科大学
一种在硅片上激光一次性二维阵列穿孔方法及装置
常州大学
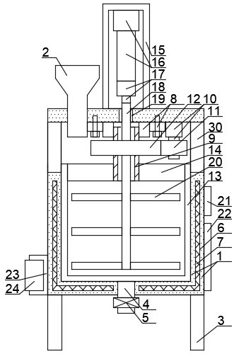
一种无纺布加工用原料加热设备
湖北崇德无纺科技有限公司
一种中空TiO2微球的合成方法
常州大学
一种橘皮总黄酮的提取方法
河北医科大学
一种纳米氧化石墨烯改性膜的制备方法及其应用
常州大学
一种柔韧性较高的砂纸
湖北飞虎科技有限公司
一种在锆合金表面制备耐磨多孔氧化锆陶瓷层的方法
燕山大学
一种防水通风板
燕山大学
外泌体富集及蛋白质处理试剂盒
中国科学院大连化学物理研究所
一种维格列汀杂质化合物及其制备方法、检测方法和用途
河北医科大学
一种胀形衬板、间隙控制方法及系统
燕山大学
一种端羟基超支化聚丙烯酸酯的制备方法
常州大学
一种含铬钢表面抛光夹杂物凹坑缺陷的控制方法
燕山大学
一种绿色植物塑化标本的制作方法
河北医科大学
一种基于电流变化的结晶器内钢液流场测量方法
燕山大学
电缆用聚苯醚/热塑性弹性体组合物及其制备方法
常州大学
一种维格列汀的制备方法
河北医科大学
一种冷柜设备、制冷系统及其控制方法
青岛海尔智能技术研发有限公司
共16022页 转到