微震、变形监测用柔性压阻材料传感技术
中国地质大学武汉
一种硅锰合金液喷粉脱磷的炉外精炼方法
广西博士海意信息科技有限公司
荧光显微系统
中国地质大学武汉
用于疾病检测的标志物分子提纯、浓缩与检测的芯片实验室技术
中国地质大学武汉
基于激光圆锥三角测量的管道内部形貌三维检测设备
中国地质大学武汉
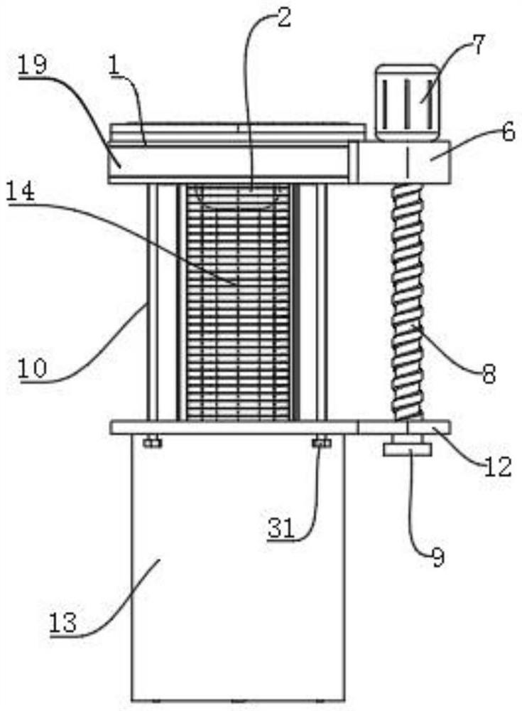
一种防腐涂料混合搅拌机构
湖北华宁防腐技术股份有限公司
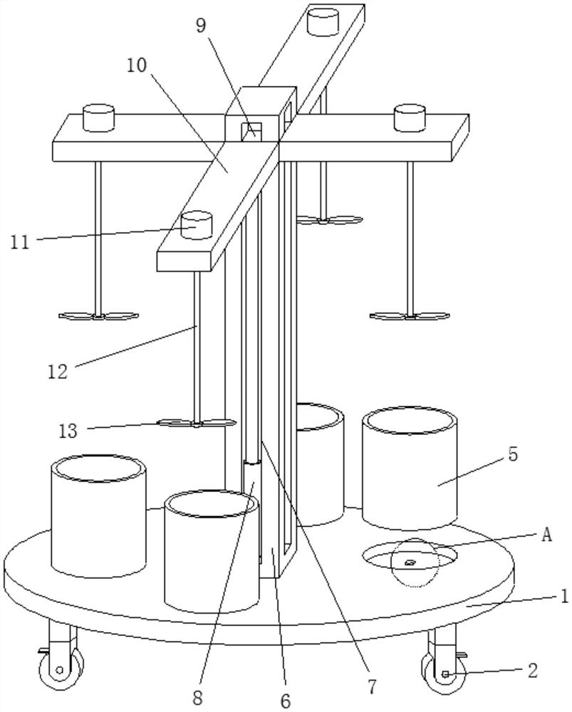
一种用于纸张印刷品的过胶机
湖北嘉仑文化发展有限公司
实时化光通信系统
中国地质大学武汉
一种公交站亭顶棚制备用一体机
湖北众邦金属装饰股份有限公司
声波及地震监测用光纤分布式传感技术
中国地质大学武汉
一种旋转门弧线滑槽的弧度测试设备
湖北众邦金属装饰股份有限公司
非接触式金属管道检测用磁通门磁记忆信号监测实验仪
中国地质大学武汉
基于云平台的多维网络化机器人分层控制系统技术
中国地质大学武汉
一种便于固定的太阳能灭蚊灯
湖北聚星能源科技有限公司
果糖胺测定试剂盒
湖北科技学院
机器人用RV精密减速器
大连交通大学
一种高密封性活塞式即配瓶盖及采用该瓶盖的瓶
茶立享科技有限公司
一种陶瓷砖保护釉混料装置
湖北亚细亚陶瓷有限公司
一种中置式开关柜泄压装置
湖北中瑞自动化工程有限公司
一种便于大板砖安装的挂装装置
湖北亚细亚陶瓷有限公司
共16022页 转到