一种能诱导肺癌细胞自噬的抗肺癌中药复方及其应用
江西中医药大学
一种电液比例阀的故障预测方法
燕山大学
纳米莫来石晶须及其增韧陶瓷的制备
齐齐哈尔大学
一种密封性能好的无人船
湖北长盛复合材料科技有限公司
系列污泥过热蒸汽节能干燥成套设备
南昌航空大学
一种中药空气消毒剂
江西中医药大学
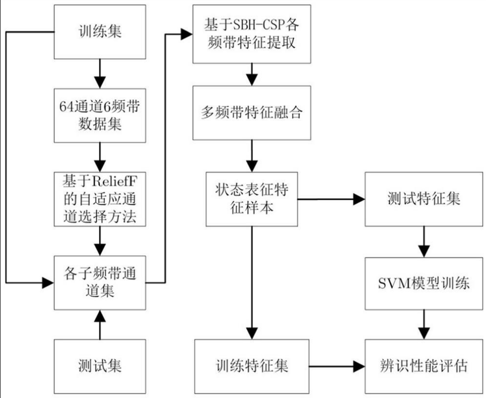
一种基于个体自适应的运动想象脑电特征表征方法
常州大学
一种中医药熏蒸装置及熏蒸方法
江西中医药大学
一种2-氯-5-三氟甲基吡啶生产用精馏冷凝器
单县欣润化工有限公司
基于GNSS的水稻农田精平整地技术试验示范
黑龙江八一农垦大学
油脂冷却处理的结晶设备
湖北灵坦机电设备有限公司
微创血管介入手术机器人导管捻旋装置
燕山大学
一种中医科中药炮制设备和炮制方法
江西中医药大学
一种适用于微量样品前处理的离心超滤装置
河北医科大学
一种中医用便携式针灸拔罐装置及其拔罐方法
江西中医药大学
一种基于目标检测的车辆探测系统及方法
常州大学
工业大麻(汉麻)纤维废弃物生物炼制低热量功能糖浆生产工艺及糖渣综合利用研究
齐齐哈尔大学
一种新型中医护理用药物热敷装置
江西中医药大学
一种散热组件
燕山大学
一种高效耐酸性丝光沸石分子筛的制备方法
常州大学
共16022页 转到