一种涂料生产用废料分级回收设备
湖北瑞琛涂料股份有限公司
一种翼开启式施工车的翼门开启机构
国网湖北省电力有限公司咸宁供电公司
一种新型移动行吊
湖北领盛新型建材有限公司
一种起重机小车限位装置
赤壁市蒲圻起重运输机械有限责任公司
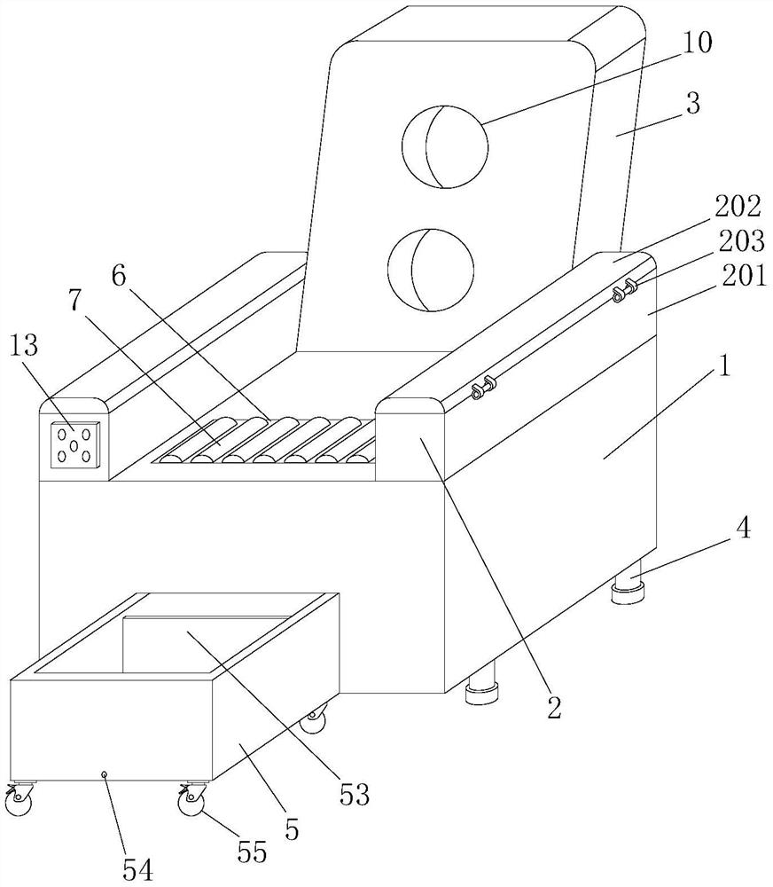
一种带加热按摩功能的智能沙发
湖北联乐床具集团有限公司
一种具有储物功能结构可调节的软沙发
湖北联乐床具集团有限公司
一种角度和高度可调节的折叠床
湖北联乐床具集团有限公司
一种避免堵塞的隔热条成型模具
湖北炳彰科技有限公司
一种茶叶杀青前预加工装置
咸宁市咸安区汀泗长胜茶叶专业合作社
多功能反光马甲
章烈昭
一种药食同源饼干成型机
湖北麦克森生物技术有限公司
一种吸入式电脑转轴
湖北省群立五金电子有限公司
转盘式太阳能光伏跟踪电站
山东金虹新能源有限公司
一种洗涤设备
青岛海尔智能技术研发有限公司
一企一技术研发中心
陈王街道科协
一种零偏心担挑式太阳能光伏电站支架
山东金虹新能源有限公司
一种智能烹饪方法及装置
青岛海尔智能技术研发有限公司
一种风道评定系统及评定方法
青岛海尔智能技术研发有限公司
衣物存储装置和衣物存储装置控制方法
青岛海尔智能技术研发有限公司
一种组装式太阳能光伏跟踪支架
山东金虹新能源有限公司
共16022页 转到