科创中国
问题分诊室
具身智能与智慧医疗融合创新产业
高性能装备制造产业
智能机器人全产业链产业
中医药产业
人工智能产业
新一代信息技术产业
作物产业
量子科技与先进制造产业
海洋装备产业
煤炭开采及煤化工产业
特殊钢产业
节能环保产业
低空经济产业
光电产业
汽车产业
新能源产业
新材料产业
“以竹代塑”
成果发布厅
新型电力系统
化学领域
现代纺织
低空经济
信息通信
智慧公路
煤炭开采及煤化工
中医药
智能机器人全产业链
海洋装备
新一代信息技术
量子科技与先进制造
人工智能
高性能装备制造
具身智能与智慧医疗融合创新
作物
科创地方
科创北京
科创天津
科创内蒙古
科创辽宁
科创江苏
科创广西
科创广东
科创重庆
科创宁夏
科创河北
科创山东
科创河南
科创福建
科创湖南
科创黑龙江
科创湖北
科创浙江
科创山西
科创资讯
科创头条
科协活动
通知公告
科技政策
技术经理人
科技服务团
资源中心
项目库
问题库
案例库
开源库
学术资源
会议展览
品牌栏目
院士开讲
解码新质生产力
金融服务云课堂
企创云课堂
有问题想咨询
有成果想转化
我的交易
我的会议
我报名的路演会议
我的资讯
我的消息
我的动态
我的需求
我的成果
我的
个人资料编辑
退出登录
登录/注册
科创中国
需求发布
成果发布
科创案例库
揭榜挂帅
技术经理人
会议展览
科创联合体
科技服务团
科创资讯
科技政策
院士开讲
学术资源
城市站点
协作站点
搜索
问题库
项目库
开源库
English
我的交易
我的会议
我报名的路演会议
我的资讯
我的消息
我的动态
我的需求
我的成果
我的
个人资料编辑
退出登录
登录/注册
组织入驻
隐藏工作区
全国
在线展厅
切换展厅
全国
北京市
天津市
河北省
山西省
内蒙古
辽宁省
吉林省
黑龙江省
上海市
江苏省
浙江省
安徽省
福建省
江西省
山东省
河南省
湖北省
湖南省
广东省
广西
海南省
重庆市
四川省
贵州省
云南省
西藏
陕西省
甘肃省
青海省
宁夏
新疆
新疆兵团
路演活动
科技成果
参观
人数
0
0
0
0
0
0
0
点赞
人数
0
0
0
0
0
0
0
技术领域
全部
新兴行业
|
新基建
|
电子信息
|
高端产业
|
生物医药
|
石化与新材料
|
智能机械与光机电一体化
|
节能环保
|
新能源
|
现代农业
|
高端技术服务业
|
农林牧副渔
|
城建规划
|
文化创意
|
矿山工程
|
冶金工程
|
企业管理
|
知识产权
|
智库咨询
|
旅游休闲娱乐
|
企业发展服务
|
电子商务
|
纺织
|
其他
|
更多
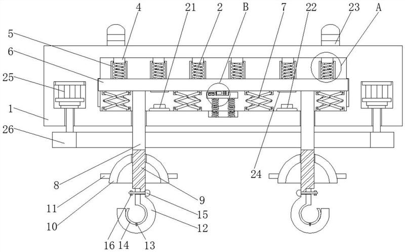
一种起重机用防脱落负载检测吊装装置
江苏博德纳系统工程股份有限公司
一种一级行星二级平行轴齿轮箱故障检测方法
华北电力大学(保定)
一种浮雕展示装置
济南专利应用研究会
一种卷筒纸拉膜包装线
江苏博德纳系统工程股份有限公司
好氧与厌氧交替加速2,4,6-三氯酚的生物降解
迈奇化学股份有限公司
一种滚动轴承故障诊断方法及系统
济南专利应用研究会
一种后轮具有倒车动力的半挂车辆及倒车方法
济南专利应用研究会
抗CD127的抗体、分泌该抗体的细胞株及其制备方法和应用
济南专利应用研究会
一种椎弓根螺钉植入的虚拟方法及装置
中国科学院深圳先进技术研究院
基于家庭庭院的户外自动行走装置及其控制系统和方法
中国科学院深圳先进技术研究院
气动连接装置
中国科学院深圳先进技术研究院
超高效液相色谱法测定参杞通脉胶囊中人参皂苷Rg1、Re和Rb1含量
濮阳市食品药品检验检测中心
用于核电站蒸汽发生器二次侧的爬壁机器人位置跟踪方法
中国科学院深圳先进技术研究院
不同入路甲状腺切除术治疗分化型甲状腺癌效果比较
濮阳市安阳地区医院
优质草坪草新品种选育与推广应用
镇江润祥农业科技有限公司
一种基于格式数据集的分布式数据存储与计算方法
中国科学院深圳先进技术研究院
便携式自动测量基坑边坡坡度的仪器
中国建筑第五工程局有限公司
混合动力汽车控制方法和系统
中国科学院深圳先进技术研究院
《把美育教育渗透到小学语文教学中的研究》
濮阳市油田第五小学
牡丹催花技术推广
牡丹区黄堽镇孔庄行政村
首页
上一页
5326
5327
5328
5329
5330
5331
5332
下一页
尾页
共16022页 转到
页