添加表面活性物质共同煎煮的中药配方颗粒制备方法
井冈山大学
多孔生物支架浆料、三维多孔生物支架及其制备方法
深圳博士创新技术转移有限公司
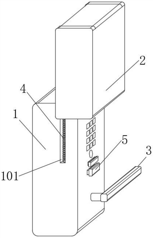
一种智能锁防尘装置
湖北鹏星智能科技有限公司
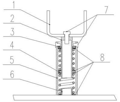
一种猕猴桃种植用支撑桩
赤壁神山兴农科技有限公司
一种同于防止振动筛发生共振的双弹簧机构
湖北国朗技术装备有限公司
一种粒碱造粒塔及环形风管清洗系统
天辰化工有限公司
一种煤气化与辐射废锅联合装置控制结渣性的方法
新疆天业汇合新材料有限公司
一种衬塑生产装置
天辰化工有限公司
一种高含水煤气化灰渣直接燃烧的装置
新疆天业汇合新材料有限公司
一种便携式游戏沙盘
河北师范大学
一种电石堆积与清理装置
天辰化工有限公司
水电机组轴线测量与摆度调整系统
南昌工程学院
一种电动车用电机及其控制系统
江苏金彭集团有限公司
基于行星轮的单动力双向搅拌粉喷桩机钻头
南昌工程学院
新型双孔艾灸盒
南华大学附属第二医院
透明固体胶
浙江大学宁波理工学院
芳樟精油高效蒸馏提取装置
南昌工程学院
助力陕煤曹家滩矿全业务生态场景的5G精准云网
网络通信与信息安全紫金山实验室
图片类文献资源监测与识别训练系统(二期)
福州大学
油菜新品种选育与推广:中油杂17
四川邡牌种业有限公司
共16022页 转到