科创中国
问题分诊室
具身智能与智慧医疗融合创新产业
高性能装备制造产业
智能机器人全产业链产业
中医药产业
人工智能产业
新一代信息技术产业
作物产业
量子科技与先进制造产业
海洋装备产业
煤炭开采及煤化工产业
特殊钢产业
节能环保产业
低空经济产业
光电产业
汽车产业
新能源产业
新材料产业
“以竹代塑”
成果发布厅
新型电力系统
化学领域
现代纺织
低空经济
信息通信
智慧公路
煤炭开采及煤化工
中医药
智能机器人全产业链
海洋装备
新一代信息技术
量子科技与先进制造
人工智能
高性能装备制造
具身智能与智慧医疗融合创新
作物
科创地方
科创北京
科创天津
科创内蒙古
科创辽宁
科创江苏
科创广西
科创广东
科创重庆
科创宁夏
科创河北
科创山东
科创河南
科创福建
科创湖南
科创黑龙江
科创湖北
科创浙江
科创山西
科创资讯
科创头条
科协活动
通知公告
科技政策
技术经理人
科技服务团
资源中心
项目库
问题库
案例库
开源库
学术资源
会议展览
品牌栏目
院士开讲
解码新质生产力
金融服务云课堂
企创云课堂
有问题想咨询
有成果想转化
我的交易
我的会议
我报名的路演会议
我的资讯
我的消息
我的动态
我的需求
我的成果
我的
个人资料编辑
退出登录
登录/注册
科创中国
需求发布
成果发布
科创案例库
揭榜挂帅
技术经理人
会议展览
科创联合体
科技服务团
科创资讯
科技政策
院士开讲
学术资源
城市站点
协作站点
搜索
问题库
项目库
开源库
English
我的交易
我的会议
我报名的路演会议
我的资讯
我的消息
我的动态
我的需求
我的成果
我的
个人资料编辑
退出登录
登录/注册
组织入驻
隐藏工作区
全国
在线展厅
切换展厅
全国
北京市
天津市
河北省
山西省
内蒙古
辽宁省
吉林省
黑龙江省
上海市
江苏省
浙江省
安徽省
福建省
江西省
山东省
河南省
湖北省
湖南省
广东省
广西
海南省
重庆市
四川省
贵州省
云南省
西藏
陕西省
甘肃省
青海省
宁夏
新疆
新疆兵团
路演活动
科技成果
参观
人数
0
0
0
0
0
0
0
点赞
人数
0
0
0
0
0
0
0
技术领域
全部
新兴行业
|
新基建
|
电子信息
|
高端产业
|
生物医药
|
石化与新材料
|
智能机械与光机电一体化
|
节能环保
|
新能源
|
现代农业
|
高端技术服务业
|
农林牧副渔
|
城建规划
|
文化创意
|
矿山工程
|
冶金工程
|
企业管理
|
知识产权
|
智库咨询
|
旅游休闲娱乐
|
企业发展服务
|
电子商务
|
纺织
|
其他
|
更多
二石磕煤矿矿下掘进设备智能化成果
三一重型装备有限公司
龙宇能源200KW井下掘进机自动远程控制预测性维护智能化成果
三一重型装备有限公司
马匹登记管理系统
北京仕骥春科技开发有限公司
华亭煤业160KW井下远程控制智能化掘进成果
三一重型装备有限公司
电厂水汽系统有机物含量对氢电导率影响试验研究
中国大唐集团科学技术研究院有限公司
人工智能在火电机组建模与优化控制中的应用
华北电力大学(保定)
秦发物资200KW井下掘进机智能化成果
三一重型装备有限公司
一种可循环供水的水泥除尘装置
湖北诚石科技有限公司
一种用于猕猴桃种植的种植绳连接装置
赤壁神山兴农科技有限公司
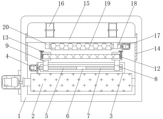
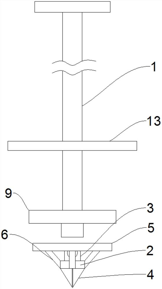
一种便于固定的板材磨光设备
湖北韵智捷家具有限公司
万豪华府160KW远程控制智能掘进成果
三一重型装备有限公司
扣锁
李真莹
旭坤建设200KW智能巷道掘进设备成果
三一重型装备有限公司
一种不容易丢失的蓝牙耳机
咸宁零点网络科技有限公司
天地煤机井下自动定位掘进截割智能化掘进技术成果
三一重型装备有限公司
一种基于杂化钙钛矿的一次写入多次读取存储器及其制备方法
南京大学
一种基于灰色理论的脑-机接口方法
西北工业大学
一种锂离子电池正极材料的制备办法
南京大学
一种交通节点的多信息资源融合处理方法
深圳市城市交通规划设计研究中心股份有限公司
一种语义分割与边缘检测模型建立及护栏异常监测方法
深圳市城市交通规划设计研究中心股份有限公司
首页
上一页
5276
5277
5278
5279
5280
5281
5282
下一页
尾页
共16022页 转到
页