一种法兰泄漏保护套
常州信息职业技术学院
一种茶叶加工用茶叶杀青机
咸宁市咸安区银泉大道628号
融合最小二乘向量机回归学习思想的改进极限学习机
江南大学
面向安全生产的超高清视频预警平台
湖南中科助英智能科技研究院有限公司
日地月三球仪
山东鄄城致远科教仪器有限公司
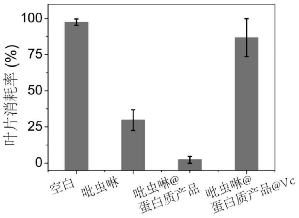
一种可固定目标物并可按需清除的蛋白质产品
陕西师范大学
基于自适应邻域CSA算法的无线传感器网络节点布局方法
江南大学
鲜切花牡丹选育技术研究
菏泽瑞璞牡丹产业科技发展有限公司
一种基于H桥级联多电平逆变器的移相空间矢量调制方法
南昌工程学院
智能下料分拣产线
湖南视比特机器人有限公司
基于物联网和区块链融合技术的云防雷保险存证链
网络通信与信息安全紫金山实验室
美梦鲨
橙意家人科技(天津)有限公司
油用牡丹彩色化技术研究
菏泽瑞璞牡丹产业科技发展有限公司
水稻产量与水氮利用效率协同提高的关键栽培技术创新及应用
扬州大学农学院
一种检测唾液酸糖基酪蛋白糖巨肽的方法
江南大学
一种多服务器环境下轻量级匿名认证与密钥协商方法
陕西师范大学
一种三角形连接级联H桥逆变器的空间矢量调制方法
南昌工程学院
新混合指标的构建原理及SIPHPM在立方粒子混合中的应用探讨
中国大唐集团科学技术研究院有限公司火力发电技术研究所
橙意肺功能仪
橙意家人科技(天津)有限公司
一种支持用户全动态并行操作的抗泄露公开云审计方法
陕西师范大学
共16022页 转到