科创中国
问题分诊室
具身智能与智慧医疗融合创新产业
高性能装备制造产业
智能机器人全产业链产业
中医药产业
人工智能产业
新一代信息技术产业
作物产业
量子科技与先进制造产业
海洋装备产业
煤炭开采及煤化工产业
特殊钢产业
节能环保产业
低空经济产业
光电产业
汽车产业
新能源产业
新材料产业
“以竹代塑”
成果发布厅
新型电力系统
化学领域
现代纺织
低空经济
信息通信
智慧公路
煤炭开采及煤化工
中医药
智能机器人全产业链
海洋装备
新一代信息技术
量子科技与先进制造
人工智能
高性能装备制造
具身智能与智慧医疗融合创新
作物
科创地方
科创北京
科创天津
科创内蒙古
科创辽宁
科创江苏
科创广西
科创广东
科创重庆
科创宁夏
科创河北
科创山东
科创河南
科创福建
科创湖南
科创黑龙江
科创湖北
科创浙江
科创山西
科创资讯
科创头条
科协活动
通知公告
科技政策
技术经理人
科技服务团
资源中心
项目库
问题库
案例库
开源库
学术资源
会议展览
品牌栏目
院士开讲
解码新质生产力
金融服务云课堂
企创云课堂
有问题想咨询
有成果想转化
我的交易
我的会议
我报名的路演会议
我的资讯
我的消息
我的动态
我的需求
我的成果
我的
个人资料编辑
退出登录
登录/注册
科创中国
需求发布
成果发布
科创案例库
揭榜挂帅
技术经理人
会议展览
科创联合体
科技服务团
科创资讯
科技政策
院士开讲
学术资源
城市站点
协作站点
搜索
问题库
项目库
开源库
English
我的交易
我的会议
我报名的路演会议
我的资讯
我的消息
我的动态
我的需求
我的成果
我的
个人资料编辑
退出登录
登录/注册
组织入驻
隐藏工作区
全国
在线展厅
切换展厅
全国
北京市
天津市
河北省
山西省
内蒙古
辽宁省
吉林省
黑龙江省
上海市
江苏省
浙江省
安徽省
福建省
江西省
山东省
河南省
湖北省
湖南省
广东省
广西
海南省
重庆市
四川省
贵州省
云南省
西藏
陕西省
甘肃省
青海省
宁夏
新疆
新疆兵团
路演活动
科技成果
参观
人数
0
0
0
0
0
0
0
点赞
人数
0
0
0
0
0
0
0
技术领域
全部
新兴行业
|
新基建
|
电子信息
|
高端产业
|
生物医药
|
石化与新材料
|
智能机械与光机电一体化
|
节能环保
|
新能源
|
现代农业
|
高端技术服务业
|
农林牧副渔
|
城建规划
|
文化创意
|
矿山工程
|
冶金工程
|
企业管理
|
知识产权
|
智库咨询
|
旅游休闲娱乐
|
企业发展服务
|
电子商务
|
纺织
|
其他
|
更多
一种建筑工程用角度测量工具
李康
温湿度激光雷达采集分析软件V1.0.0
合肥中科光博量子科技有限公司
一种带有稳定散热结构的配电箱
湖北湖科智控科技有限公司
一种双聚焦型化学电离质谱的有机物检测装置
中国科学院合肥物质科学研究院
一种基于四片式滤色片的屏幕缺陷检测装置及方法
咸宁市知识产权局
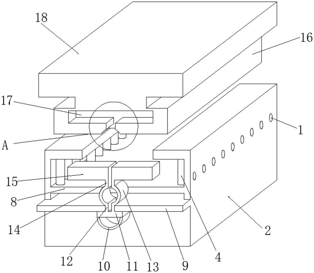
一种内置通风机构的户内交流高压环网开关柜
湖北湖科智控科技有限公司
种光伏玻璃的缺陷检测方法及装置
咸宁市知识产权局
一种安全稳定的交流低压配电柜
湖北湖科智控科技有限公司
一种大气挥发性有机物车载化学电离质谱走航检测装置
中国科学院合肥物质科学研究院
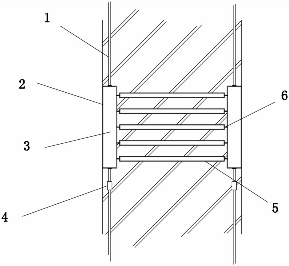
机柜的遮挡装置和机柜
湖北华腾科技设备制造有限公司
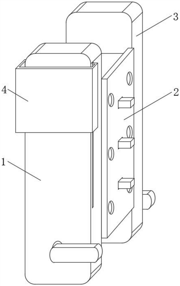
一种机柜用导轨组件
湖北华腾科技设备制造有限公司产业管理处有专业的成果转化团队,依托和发挥湖它自身的的综合优势,积极拓宽产学研的合作渠道,初步建立起创新资源有序流动、运行机制较为完善、合作内容较为丰富、合作形式较为规范的科研体系。努力建设成为鄂南地区经济与社会发展的“创新基地与人才库”,高新科技产业的“技术研发中心”、“产品孵化基地”与“人才培养基地”。
一种雷竹竹笋种植用自动拔笋装置
湖北雷君农业科技开发有限责任公司
一种异型云母管冲压装置
湖北平安电工科技股份公司
一种智能锁的安装机构
湖北鹏星智能科技有限公司
一种户外园林道路铺设结构
龚育平
一种轴承结构加固用工作台
咸宁市淦金机械制造股份有限公司
利用合成生物技术制造生物降解材料PHA
北京微构工场生物技术有限公司
医疗全数字化基建
南京新广云信息科技有限公司
新能源行业智能车间解决方案
中江联合(北京)科技有限公司
一种撕拉型中药美白面膜及其制备方法
咸宁市知识产权局
首页
上一页
5124
5125
5126
5127
5128
5129
5130
下一页
尾页
共16012页 转到
页