科创中国
问题分诊室
具身智能与智慧医疗融合创新产业
高性能装备制造产业
智能机器人全产业链产业
中医药产业
人工智能产业
新一代信息技术产业
作物产业
量子科技与先进制造产业
海洋装备产业
煤炭开采及煤化工产业
特殊钢产业
节能环保产业
低空经济产业
光电产业
汽车产业
新能源产业
新材料产业
“以竹代塑”
成果发布厅
新型电力系统
化学领域
现代纺织
低空经济
信息通信
智慧公路
煤炭开采及煤化工
中医药
智能机器人全产业链
海洋装备
新一代信息技术
量子科技与先进制造
人工智能
高性能装备制造
具身智能与智慧医疗融合创新
作物
科创地方
科创北京
科创天津
科创内蒙古
科创辽宁
科创江苏
科创广西
科创广东
科创重庆
科创宁夏
科创河北
科创山东
科创河南
科创福建
科创湖南
科创黑龙江
科创湖北
科创浙江
科创山西
科创资讯
科创头条
科协活动
通知公告
科技政策
技术经理人
科技服务团
资源中心
项目库
问题库
案例库
开源库
学术资源
会议展览
品牌栏目
院士开讲
解码新质生产力
金融服务云课堂
企创云课堂
有问题想咨询
有成果想转化
我的交易
我的会议
我报名的路演会议
我的资讯
我的消息
我的动态
我的需求
我的成果
我的
个人资料编辑
退出登录
登录/注册
科创中国
需求发布
成果发布
科创案例库
揭榜挂帅
技术经理人
会议展览
科创联合体
科技服务团
科创资讯
科技政策
院士开讲
学术资源
城市站点
协作站点
搜索
问题库
项目库
开源库
English
我的交易
我的会议
我报名的路演会议
我的资讯
我的消息
我的动态
我的需求
我的成果
我的
个人资料编辑
退出登录
登录/注册
组织入驻
隐藏工作区
全国
在线展厅
切换展厅
全国
北京市
天津市
河北省
山西省
内蒙古
辽宁省
吉林省
黑龙江省
上海市
江苏省
浙江省
安徽省
福建省
江西省
山东省
河南省
湖北省
湖南省
广东省
广西
海南省
重庆市
四川省
贵州省
云南省
西藏
陕西省
甘肃省
青海省
宁夏
新疆
新疆兵团
路演活动
科技成果
参观
人数
0
0
0
0
0
0
0
点赞
人数
0
0
0
0
0
0
0
技术领域
全部
新兴行业
|
新基建
|
电子信息
|
高端产业
|
生物医药
|
石化与新材料
|
智能机械与光机电一体化
|
节能环保
|
新能源
|
现代农业
|
高端技术服务业
|
农林牧副渔
|
城建规划
|
文化创意
|
矿山工程
|
冶金工程
|
企业管理
|
知识产权
|
智库咨询
|
旅游休闲娱乐
|
企业发展服务
|
电子商务
|
纺织
|
其他
|
更多
一种自动焊锡装置
山东菏鲁电子科技有限公司
一种坯布生产用旋转式喷气织布机
山东汇泓纺织科技有限公司
一种灵敏度极高的电饭煲用温度传感器
湖北惠祥电子科技有限公司
一种用于大直径阀门或管接头防盗快插机构的拆卸工具
湖北健荣塑业有限公司
一种坯布生产用高速分条整经机
山东汇泓纺织科技有限公司
钝化剂生产反应釜的保温结构
丰野新材料湖北有限公司
一种干式变压器安全防护装置
湖北亚坤电力设备有限公司
一种适用于环保型家具板材的精准打孔装置
湖北韵智捷家具有限公司
一种具有紧急泄压功能工业危废品处理用混料罐
武汉格瑞鸿环保科技有限公司
一种空心砖的压砖装置
单县张集镇新型建材供应有限公司
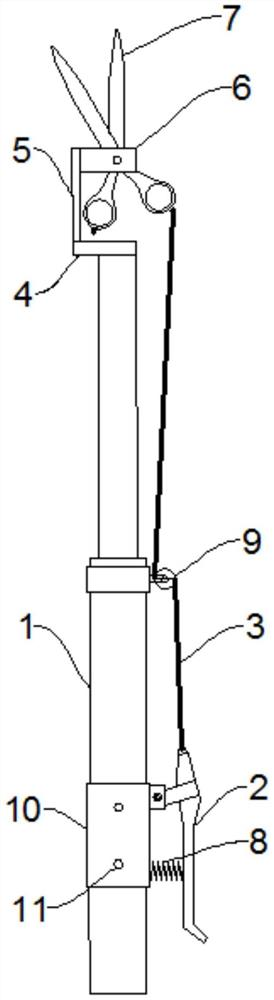
一种小提琴调音装置
湖北科技学院
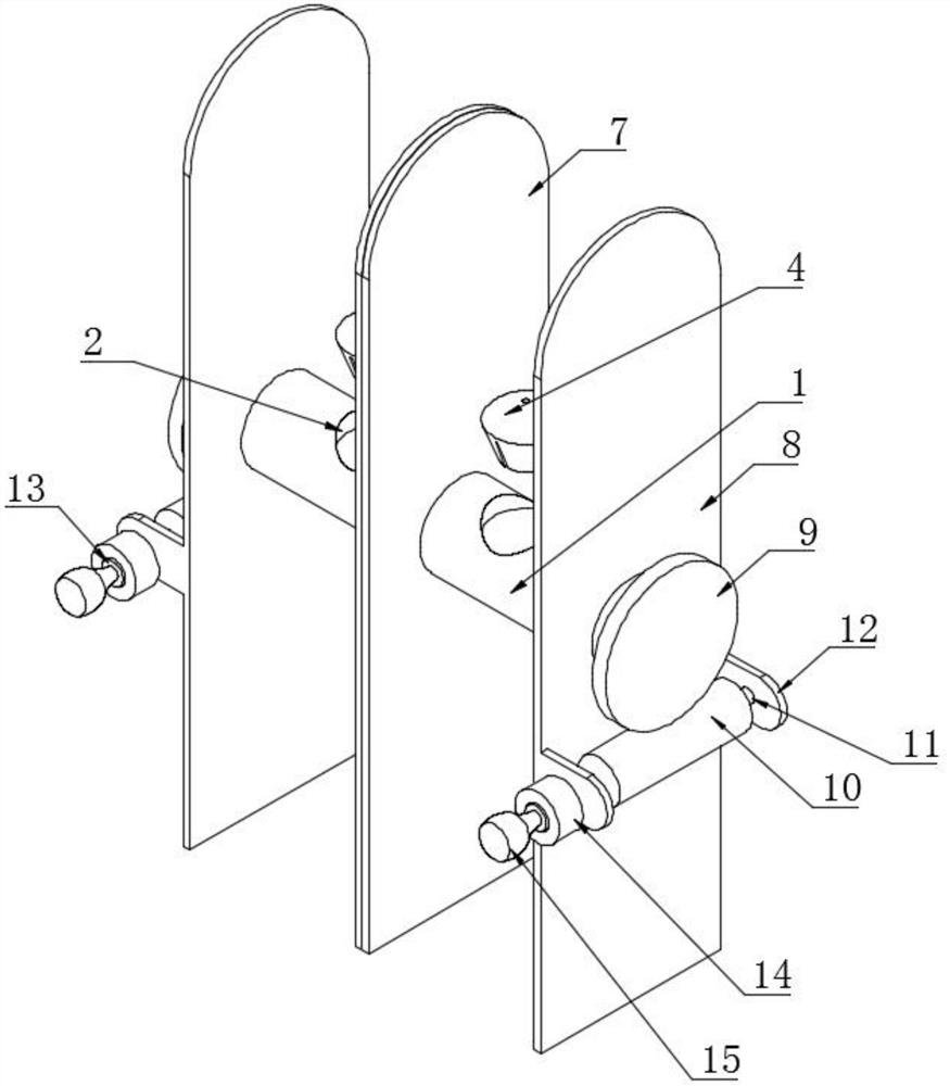
一种用于园林园艺的具有调节功能的除草设备
咸宁职业技术学院
一种南竹输送台及其组成的南竹定长切割装置
赤壁绿圣源竹业有限公司
菏泽市牡丹区小麦新品种高产创建技术推广应用项目
菏泽高新区吕陵镇政府农业服务中心
一种猕猴桃摘尖器
赤壁神山兴农科技有限公司
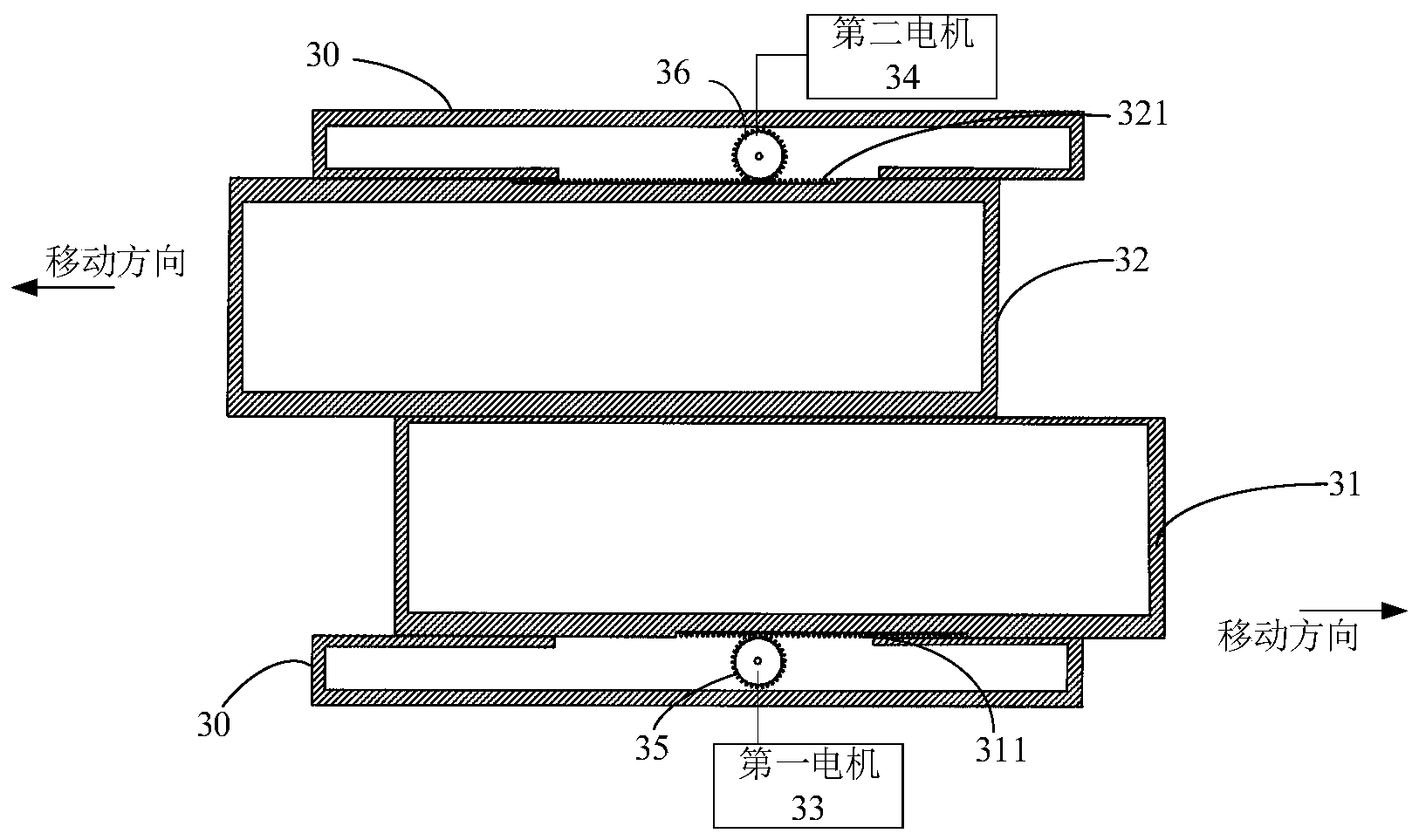
一种用于检测拱桥桥梁的检查车
咸宁职业技术学院
辣椒烂根死苗的原因及解决办法
山东省菏泽市牡丹区大黄集镇人民政府
一种高效保温复合地板
湖北汉邦木业有限公司
中艺政策资源管理平台
芜湖中艺科技服务有限公司
桂花栽培生理及早产丰产栽培技术研究
湖北科技学院
首页
上一页
5113
5114
5115
5116
5117
5118
5119
下一页
尾页
共16012页 转到
页