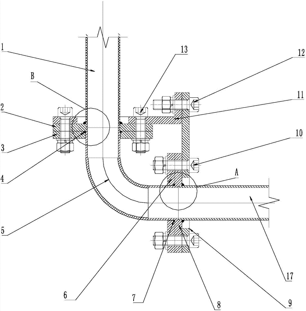
一种直角弯头钢制管无缝连接机构
河海大学常州校区
一种钎具运输装置
湖北嘉裕钎具股份有限公司
一种具有吹气管的触控屏用蚀刻装置
天津宝兴威科技有限公司
研制标准《古钟表修复技术规范》
中国标准化协会
用于治疗猪的口蹄疫的药物
山东谊源药业股份有限公司
四轴高速机器人
天津大学
活体蔬菜的培育架
菏泽市林业局
阻容式渗流井水位测量仪
河海大学常州校区
一种嵌套式磁控溅射镀膜装置
天津宝兴威科技有限公司
一种图书馆图书分拣设备
湖北科技学院
切纸机电控转换器调校工具技改
濮阳龙丰纸业有限公司
面向弱势道路使用者的 ADAS 测试装置关键技术研究
宁波市科技创新协会
一种钢制管无缝连接机构
河海大学常州校区
人乳腺癌细胞特异性结合的多肽及其应用
陕西师范大学
基于 IEEE 802.15.6 的无线体域网及可穿 戴设备
南开大学
一种具有防滑动和集尘功能的切割台
天津宝兴威科技有限公司
关节型码垛机器人
天津大学
基于机器算法的5G语音数智优化 助力5G客户满意度持续提升
濮阳移动公司
一种触摸屏玻璃切割用集渣装置
天津宝兴威科技有限公司
包装盒(可林可盐酸林可霉素注射液)
山东谊源药业股份有限公司
共16012页 转到