特色热带植物精油的固定化关键技术研究及应用
中国热带农业科学院农产品加工研究所
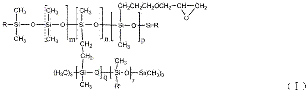
超疏水型交联聚硅氧烷-聚倍半硅氧烷纳米球杂化材料的制备方法
陕西科技大学
橡胶树组培苗工厂化生产技术
中国热带农业科学院橡胶研究所
益生菌BR14通过恢复肠道屏障和调整肠道微生物区系来改善DSS诱导的结肠炎
上海理工大学
计算机软件著作权(itrial临床研究协作掌上平台系统)
中国防痨协会
细粒级尾砂膏体充填材料性能优化技术
北京科技大学
生物制药行业工业互联网安全一体化运营解决方案
杭州安恒信息技术股份有限公司
内源性罗伊氏乳杆菌R28和外源性植物乳杆菌AR17-1的定殖及其对小鼠肠道炎症的影响
上海理工大学
木梳
菏泽市匠工木雕文化有限公司
新型铁路轮轨、齿轮专用润滑剂
中国科学院兰州化学物理研究所
橡胶树优良品种热研73397、热研917、热研879和热垦628
中国热带农业科学院橡胶研究所
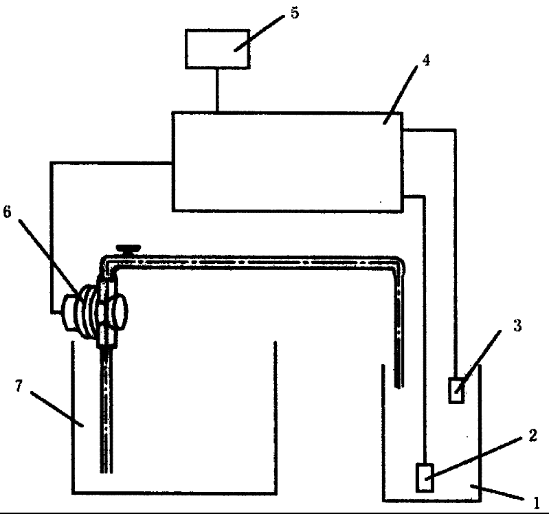
一种太阳光直接照明系统及其控制方法
陕西科技大学
常见呼吸道病原体多重检测方法(荧光定量PCR法)
中国防痨协会
基于中钙体系的电解锰渣建材化低成本利用技术与应用
北京科技大学
罗非鱼性别控制育种关键技术创新及应用
广西壮族自治区水产科学研究院
瓦楞纸板生产线的自动输胶装置
陕西科技大学
一种蒸汽发生器重油温度调节装置
中国煤炭学会
全周期间作模式胶园建设技术
中国热带农业科学院橡胶研究所
高产型罗非鱼杂交配套系选育技术研究与应用
广西壮族自治区水产科学研究院
高精度通用导航与位置服务终端
中国电子科技集团公司第五十四研究所
共16012页 转到