一种多铁性Bi1 xRExFe0.97 yMn0.03TMyO3/CoFe2O4复合膜及其制备方法
陕西科技大学
一种采用均相水热法制备Sm(OH)3/CuO纳米复合物的方法
陕西科技大学
一种水性硝化纤维乳液的制备方法及硝化纤维薄膜
陕西科技大学
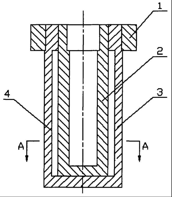
一种高浓磨浆机磨盘
陕西科技大学
一种微波水热法制备铁酸铋粉体的方法
陕西科技大学
超高聚合度聚氯乙烯树脂生产工艺中压力模拟在线校对装置
天辰化工有限公司
一种复合式油压缸体
陕西科技大学
一种低温低压制备ALN粉体的方法
陕西科技大学
一种两性造纸助留助滤剂的制备方法
陕西科技大学
一种画行器
陕西科技大学
一种定向反射太阳光的装置
陕西科技大学
面向高性能计算和人工智能的量子算法研究及其应用
迈科技
“文椰”系列椰子新品种培育与推广利用
中国热带农业科学院椰子研究所
木薯精酿啤酒
中国热带农业科学院热带生物技术研究所
【技术成熟】AI视觉在开放式复杂场景下的多维应用
迈科技
甘蔗良种繁育技术体系
中国热带农业科学院热带生物技术研究所
一种起垄果园行间草体处理装置
河北农业大学
沉香健康新产品
中国热带农业科学院热带生物技术研究所
具有生物相容性的抗微生物高分子反应釜搅拌装置
安徽瑞研新材料技术研究院有限公司
优稀水果果粉高值化加工关键技术研究与应用
中国热带农业科学院农产品加工研究所
共16012页 转到