中心频率可调节的石英晶体窄带滤波电路
陕西师范大学
基于反向微乳液制备正六边形碳酸钙纳米晶粒的方法
陕西师范大学
一种沥青混合料抗扭转和剪切性能的测试装置及方法
长安大学
一种具有凹凸表面形态的碳酸钙晶须制备方法
陕西师范大学
光纤导光物理条件的模拟实验演示装置与演示方法
陕西师范大学
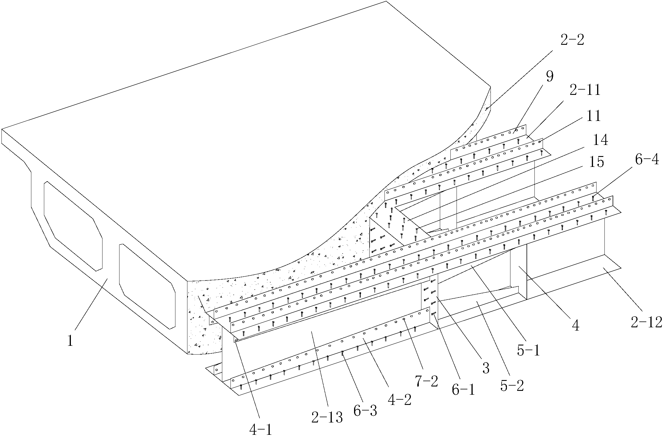
一种钢梁插入式混合梁钢-混结合段构造
长安大学
一种硫脲功能化的三苯胺类有机染料及其应用
陕西师范大学
带混凝土翼板的钢管混凝土翼缘组合梁
长安大学
一种RDF的数据存储方法和查询方法
陕西师范大学
智能制造企业工业互联网平台安全防护建设
杭州安恒信息技术股份有限公司
高低层特征融合的注意力遥感图像描述的生成方法及系统
中国科学院空天信息创新研究院
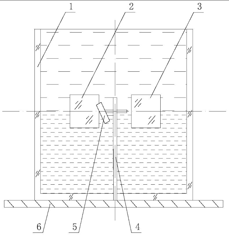
采用泡沫混凝土和波纹钢板的多孔涵洞结构及其施工方法
长安大学
一种具有核壳结构二氧化硅无机颗粒的制备方法
中国科学院深圳先进技术研究院
基于SRV6的下一代可编程网络
网络通信与信息安全紫金山实验室
饰链扣件成型及组装设备
中国科学院深圳先进技术研究院
一种公交通行方法
长安大学
一种基于2D随机Prim迷宫的数字置乱方法
陕西师范大学
一种半自动潜水衣衣缝粘合系统
中国科学院深圳先进技术研究院
双曲流线形矩形流量计
宁夏机械工程学会
城市道路透水性水泥混凝土铺面结构
长安大学
共16012页 转到