数据合规管理与监测处置系统
数安信(北京)科技有限公司
基于网络IO的异构计算架构
网络通信与信息安全紫金山实验室
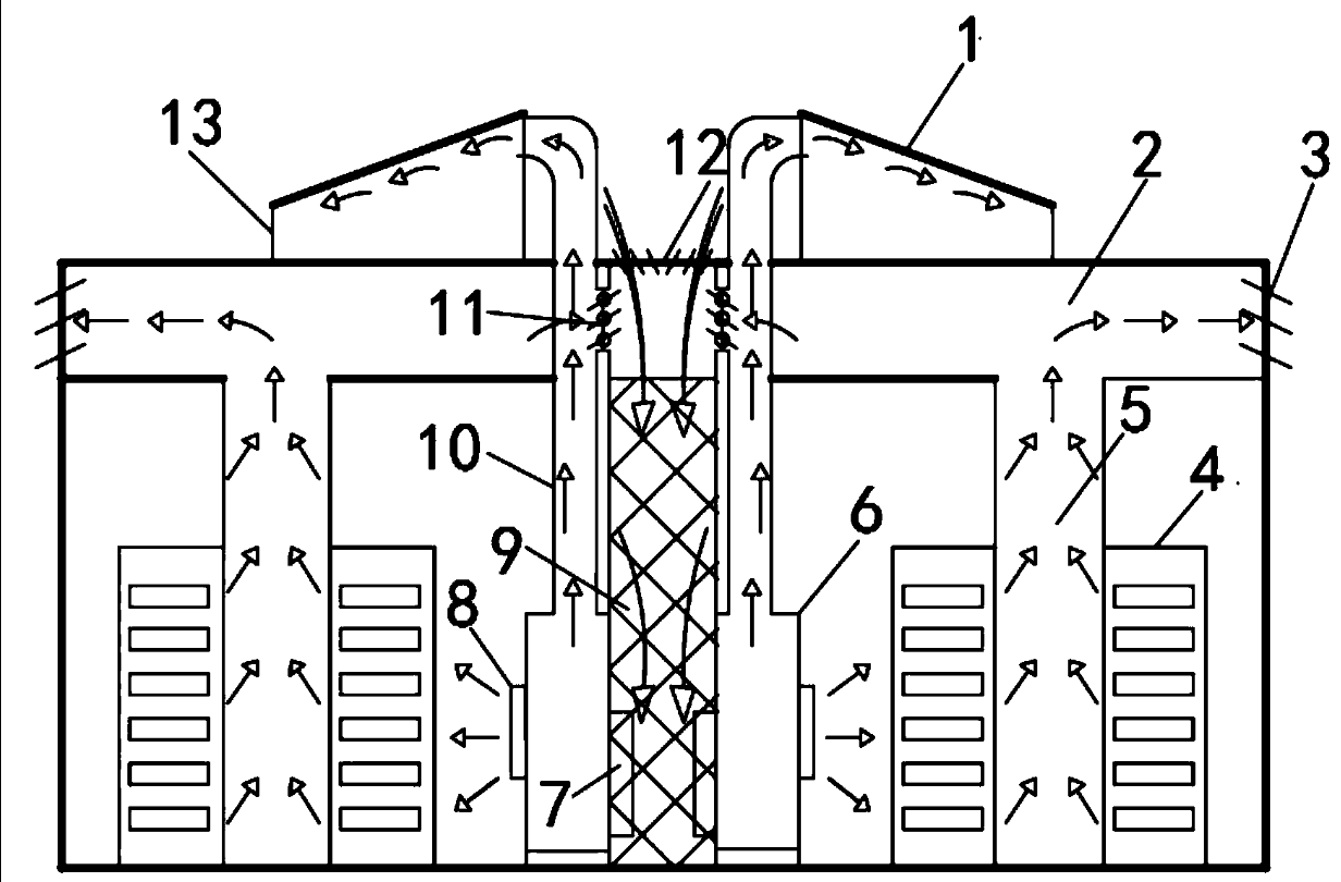
光伏盘管-露点间接与直接蒸发冷却复合冷水机组
西安工程大学
茶树优势品种——白毫早
湖南省茶叶研究所
YXD120U 全自动潜孔钻机
河南跃薪时代新能源科技有限公司
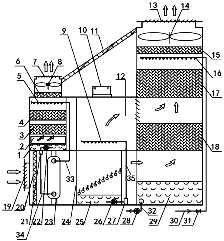
数据中心用光伏露点间接蒸发冷却空调系统
西安工程大学
以干空气能、太阳能及地热能为驱动能源的空调系统
西安工程大学
家用洗碗机药片的产业化开发
北京博诺安科科技有限公司
预热还原-矿热炉流程镍铁合金高效节能技术
中国机械工程学会
高压开关柜触头温度在线监测系统
西安工程大学
YX3080UEV 纯电动矿用自卸车
河南跃薪时代新能源科技有限公司
基于物联网的智能高压开关柜
西安工程大学
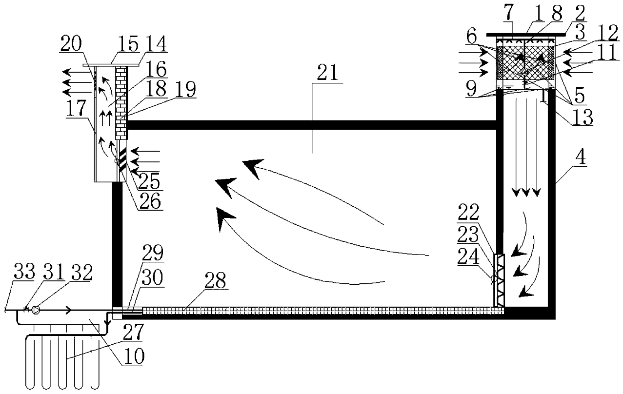
数据中心用主动与被动相结合的蒸发冷却供冷系统
西安工程大学
生物芯片动物疫病检测ALOT云平台
易检生物北京科技有限公司
JK730型遥控智能钻机
河南跃薪时代新能源科技有限公司
一种用于二维服装虚拟展示的面料填充纹理变形方法
西安工程大学
畜禽舍环境智能调控技术
河北农业大学
基于电场传感器的容性设备介损监测方法
西安工程大学
基于工业互联网标识的路由与转发技术
网络通信与信息安全紫金山实验室
碧香早
湖南省茶叶研究所
共16011页 转到