一种具有负离子发射功能的枕头
杭州丝里伯睡眠科技有限公司
BIM软件
启迪国际技术转移有限公司
一种移动平台上的光伏组件自动调整收拢装置
河海大学常州校区
高性能塑料壳
安徽众诚信息技术有限公司
一种加强型多用导热硅胶垫片的研究
安徽众诚信息技术有限公司
一种基于WSAN的预装式变电站在线监控装置
河海大学常州校区
一种具有坐便功能的电动护理床
常州工学院
一种医用钴基合金无缝管材的制备方法
西北工业大学
一种蓄能缓冲器
河海大学常州校区
基于废弃生物质循环利用的水热炭土壤修复技术
中国科学院生态环境研究中心
仿生学蒲公英水力压裂支撑剂的推广与应用
四川华粒能源科技有限公司
一种手脚两用式健身器
河海大学常州校区
一种基于三维激光检测技术的沥青路面铣刨质量评价方法
长安大学
一种智能可压缩分类垃圾桶
河海大学常州校区
软硬件/物联网集成定制
梅州市绿创信息技术有限公司
光降解塑料薄膜
安徽众诚信息技术有限公司
集群式SDN控制器系统
网络通信与安全紫金山实验室
一种带有可折叠坐便装置的电动护理床
常州工学院
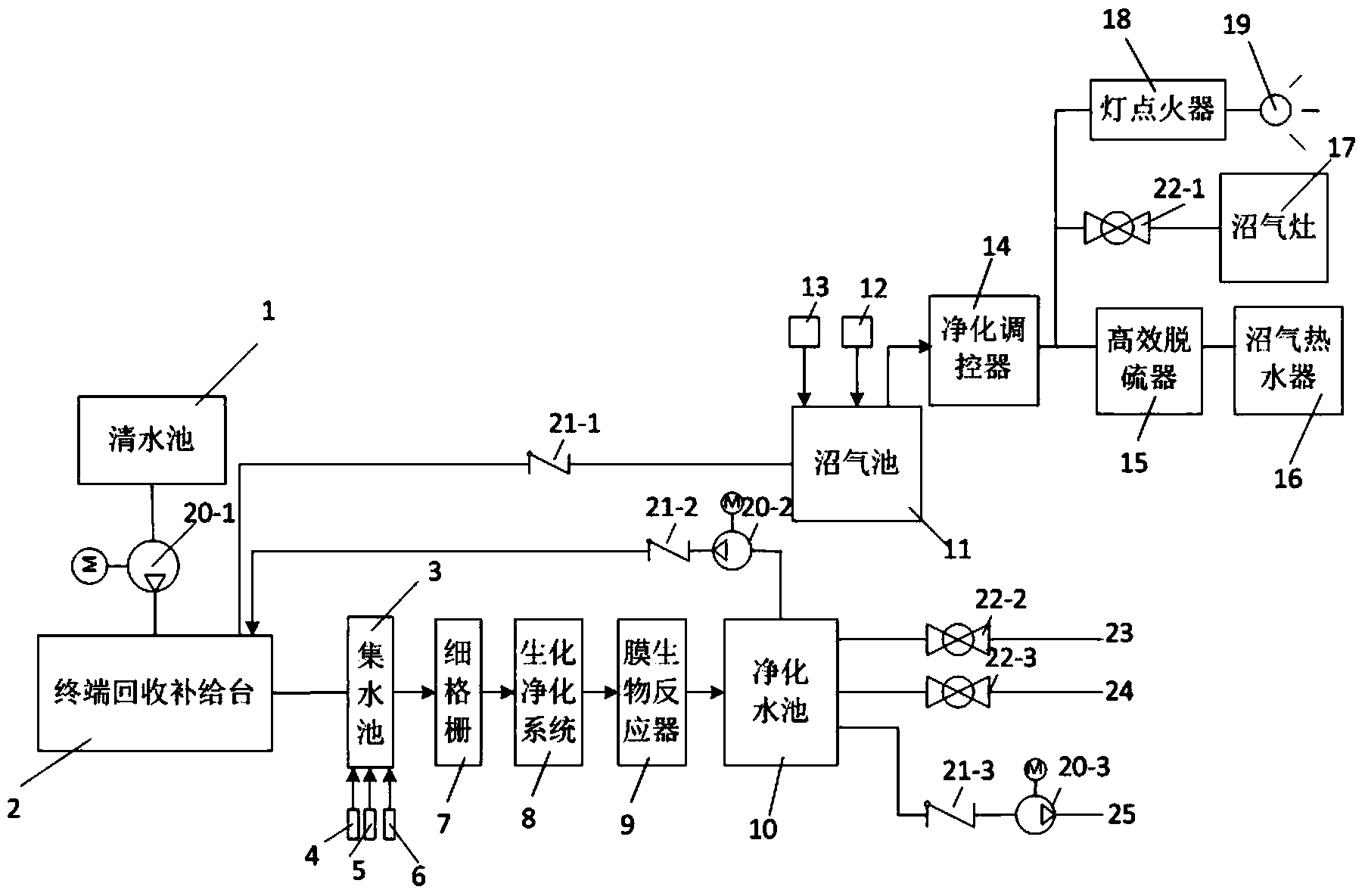
一种房车营地水系统
河海大学常州校区
玉米秸秆生态家居新材料制造及利用技术
东北林业大学
共16011页 转到