一种基于提高太阳能光伏热效率的新型气冷式PV/T系统
河海大学常州校区
基于智能手表的驾驶员疲劳驾驶的预警系统及预警方法
长安大学
甲烷二氧化碳干重整技术
中国科学院青岛生物能源与过程研究所
119牌逃生缓降器-单兵装备家庭款(仅缓降功能)
远云(深圳)互联网科技有限公司
一种应用于智能激光切割的图像自动标定方法
河海大学常州校区
烙铁转炉精炼技术许可
北京科技大学
一种汽车座椅滑轨自动注油装置
河海大学常州校区
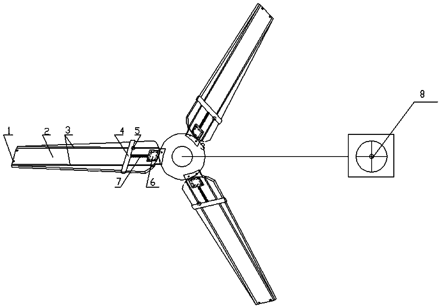
一种带有自动清扫叶片积灰功能的悬挂式电风扇
河海大学常州校区
一种能够提高飞机抗鸟撞性能的尾翼
西北工业大学
基于多源数据融合的精准气象服务
广西海佩智能科技有限公司
一种陶瓷膜及安装该陶瓷膜的曝气膜生物反应器
长安大学
工业互联网确定性网络技术
网络通信与安全紫金山实验室
一种振动筛处理量实时检测系统及方法
河海大学常州校区
生物基乳酸及聚乳酸制品绿色制造技术
东北林业大学
基于灰色综合关联度的热轧带钢楔形缺陷诊断方法及系统
北京科技大学
一种基于参数化模板的受损骨骼模型复原方法
河海大学常州校区
生物质化学链气化生产合成气和绿氢技术
中国科学院青岛生物能源与过程研究所
一种智能型光伏热一体化装置
河海大学常州校区
一种数控弯管成形回弹半径和回弹角的精确控制方法
西北工业大学
一种便捷式口气与口腔酒精浓度检测牙刷
河海大学常州校区
共16011页 转到