关于车用动力电池的拆卸安装检查和安全记录监控系统开发技术
孟凡鹏
一种用于预防磨屑病的Ca-P涂层及其制备方法
贵州知富云科技有限公司
穿戴式体温芯片模组
无锡博智芯科技有限公司
多层芯片式微生物反应装置
中国科学院微生物研究所
无人机航拍视频去抖技术
北航工研院
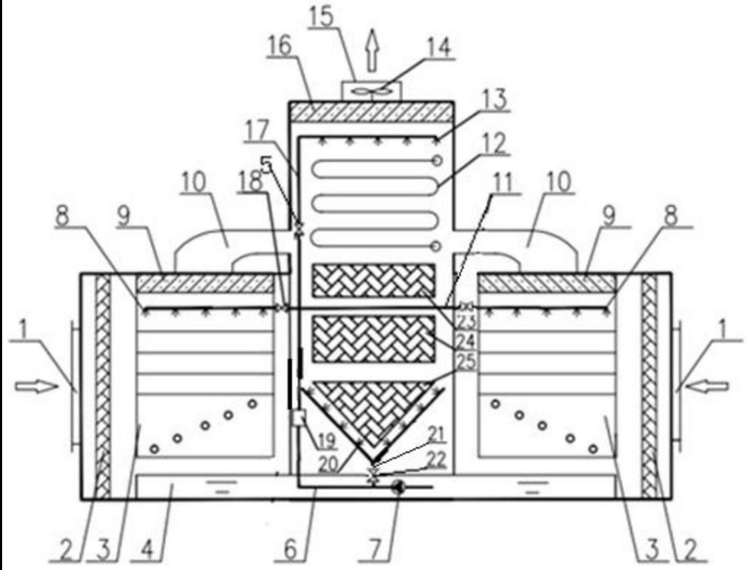
基于露点间接蒸发冷却预冷的蒸发式冷凝器
西安工程大学
湿式制动器监控测试装置
江阴职业技术学院
一种长短齿仿生型木薯收获挖掘铲
海南大学
紫杉醇控释球囊导管
中国生物材料学会(代)
一种利用微波辐照修复FDM 3D打印制品层与层之间粘接强度的方法
泉州师范学院
一种具有聚氨酯网状结构的相变微胶囊及其制备方法
西安工程大学
一种全自动果树施肥机
海南大学机电工程学院
一种弧齿锥齿轮的滑动系数及重合度的计算方法
无锡职业技术学院
弗氏柠檬酸杆菌AS11及其在污水处理中的 应用
中国科学院微生物研究所
血压芯片模组
无锡市高浪东路999-8-D2-701室
雾化装置控制程序
北京简易科技有限公司
一种基于脉冲序列提取的单光子雷达系统及其3D成像方法
北航工研院
一种室内降尘中多环芳烃类物质的指纹图谱测试方法
贵州知富云科技有限公司
一种含甲基丙烯酸结构的双马来酰亚胺树脂及其制备方法
泉州师范学院
纤维素气凝胶材料
中国制浆造纸研究院有限公司
共16007页 转到