一种电石炉尾气安全检测及自动化点火系统
天辰化工有限公司
液体定量倒出的瓶嘴适应性瓶盖及其使用方法
贵州知富云科技有限公司
八合一气体-环境监测装备
山东大学
一种含有纳米纤维素的卷烟滤嘴棒填充纸及其制备方法
中国制浆造纸研究院有限公司
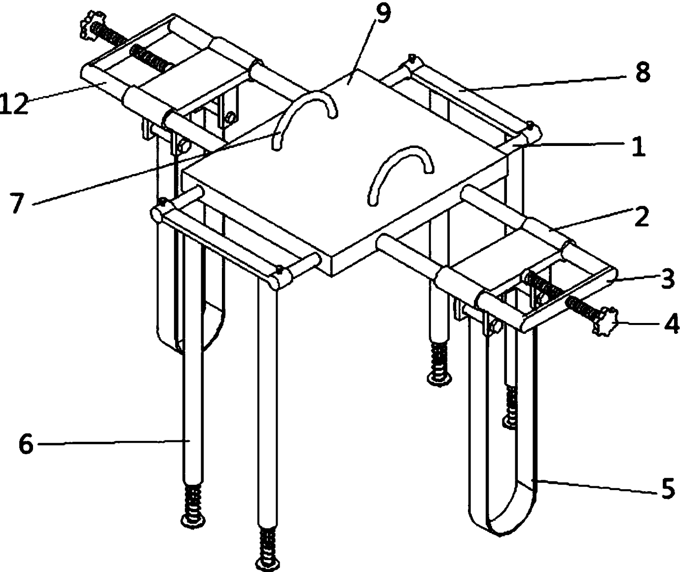
一种用于液力变速器的安装固定结构
贵州知富云科技有限公司
智慧果园精准技术集成研发与应用示范
中国农业科学院植物保护研究所
智联天下——特高压输电线路全面感知系统
中鼎建投(北京)集团有限公司
一种电石炉烧穿器导电装置
天辰化工有限公司
一种除草剂组合物
陕西上格之路生物科学有限公司
一种藏药安儿宁颗粒安慰剂及其制备方法
金诃藏药股份有限公司
感知驱动的健康家居AIoT平台
深圳一目科技有限公司
一种矿热炉出炉机工具架
天辰化工有限公司
一种对垃圾进行粉碎的破碎装置
陕西耀坤环境设备有限公司
基于大数据档案管理系统
江西航天云网科技有限公司
设施果菜肥水解决方案与高效栽培农艺技术研究
北京市农林科学院蔬菜研究所
一种生活垃圾热解无害化焚烧设备
崔炜
人脸识别消费系统
蝉鸣科技(西安)有限公司
叶根菜精量播种与节水农艺结合的关键技术
北京市农林科学院蔬菜研究中心
SAIMIKA 智慧校园+流行病毒防控方案
赛米加生物科技(深圳)公司
一种垃圾热解气化供料装置
崔炜
共16005页 转到