一种NB-IoT系统NSSS同步过程中确定小区ID的方法及系统
武汉梦芯科技有限公司
改性聚乙烯亚胺构建的多功能纳米复合粒子
四川大学
基于多尺度带孔卷积神经网络的道路场景语义分割方法
浙江科技学院
一种基于4G网络通信的厘米级定位与惯性导航装置
武汉梦芯科技有限公司
基于金字塔池化模块的单目图像深度估计方法
浙江科技学院
一种电子耳标
武汉梦芯科技有限公司
新型节能低噪轴流通风机
中国机械工程学会
一种基于深度卷积神经网络的单目视觉深度估计方法
浙江科技学院
硅晶圆切割用 UV 光致可剥离胶制备关键技术
北京创业投资协会
一种基于神经网络的单目图像深度预测方法
浙江科技学院
一种NB-IoT通信模块启动电路、电路板及物联网终端
武汉梦芯科技有限公司
一种有效融合神经网络特征的道路场景语义分割方法
浙江科技学院
配电网单相接地综合保护技术
辽宁省电力有限公司
一种基于卫星定位的建筑物形变监测装置
武汉梦芯科技有限公司
基于深度学习编码译码网络的立体图像视觉显著提取方法
浙江科技学院
基于工业互联网的制造运营管理平台
启迪国际技术转移有限公司
一种基于LORA通信的差分定位装置及其系统
武汉梦芯科技有限公司
枳椇皮提取物在制备治疗肾结石药物中的应用及制备方法
贵州知富云科技有限公司
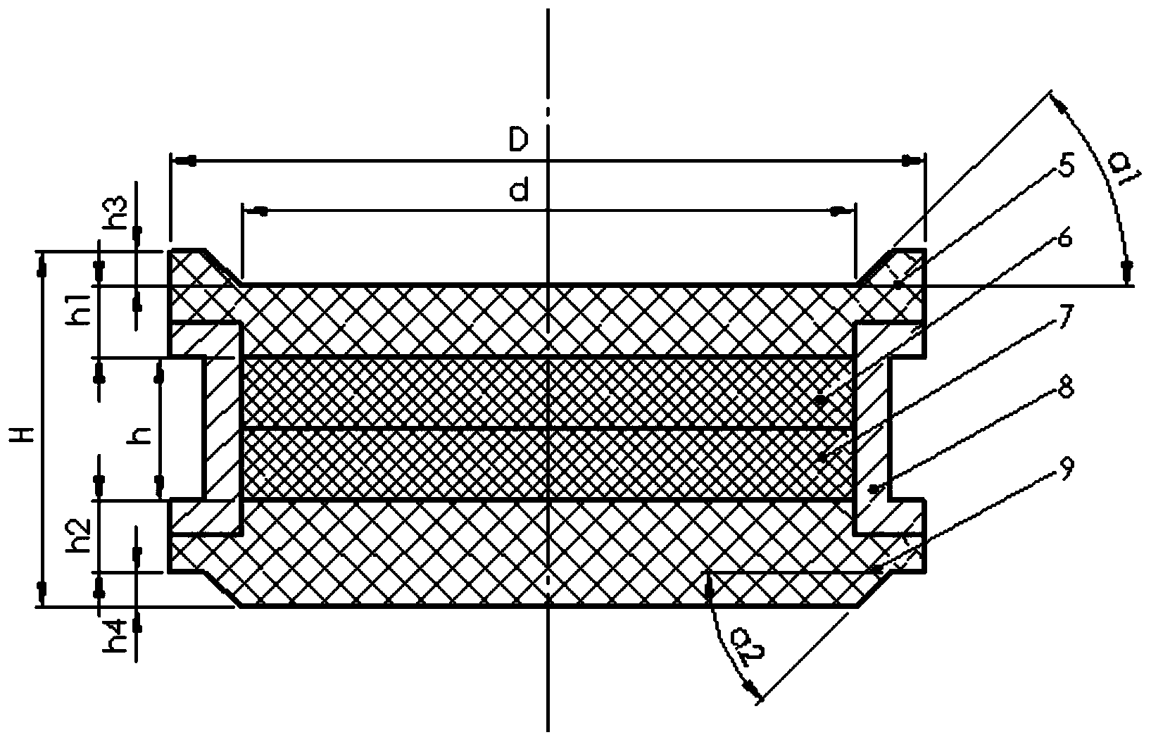
隔振降噪的复合支垫及高层水泵
江南大学
子午线轮胎辐射加工技术
北京市科学技术研究院
共16005页 转到