科创中国
问题分诊室
具身智能与智慧医疗融合创新产业
高性能装备制造产业
智能机器人全产业链产业
中医药产业
人工智能产业
新一代信息技术产业
作物产业
量子科技与先进制造产业
海洋装备产业
煤炭开采及煤化工产业
特殊钢产业
节能环保产业
低空经济产业
光电产业
汽车产业
新能源产业
新材料产业
“以竹代塑”
成果发布厅
新型电力系统
化学领域
现代纺织
低空经济
信息通信
智慧公路
煤炭开采及煤化工
中医药
智能机器人全产业链
海洋装备
新一代信息技术
量子科技与先进制造
人工智能
高性能装备制造
具身智能与智慧医疗融合创新
作物
科创地方
科创北京
科创天津
科创内蒙古
科创辽宁
科创江苏
科创广西
科创广东
科创重庆
科创宁夏
科创河北
科创山东
科创河南
科创福建
科创湖南
科创黑龙江
科创湖北
科创浙江
科创山西
科创资讯
科创头条
科协活动
通知公告
科技政策
技术经理人
科技服务团
资源中心
项目库
问题库
案例库
开源库
学术资源
会议展览
品牌栏目
院士开讲
解码新质生产力
金融服务云课堂
企创云课堂
有问题想咨询
有成果想转化
我的交易
我的会议
我报名的路演会议
我的资讯
我的消息
我的动态
我的需求
我的成果
我的
个人资料编辑
退出登录
登录/注册
科创中国
需求发布
成果发布
科创案例库
揭榜挂帅
技术经理人
会议展览
科创联合体
科技服务团
科创资讯
科技政策
院士开讲
学术资源
城市站点
协作站点
搜索
问题库
项目库
开源库
English
我的交易
我的会议
我报名的路演会议
我的资讯
我的消息
我的动态
我的需求
我的成果
我的
个人资料编辑
退出登录
登录/注册
组织入驻
隐藏工作区
全国
在线展厅
切换展厅
全国
北京市
天津市
河北省
山西省
内蒙古
辽宁省
吉林省
黑龙江省
上海市
江苏省
浙江省
安徽省
福建省
江西省
山东省
河南省
湖北省
湖南省
广东省
广西
海南省
重庆市
四川省
贵州省
云南省
西藏
陕西省
甘肃省
青海省
宁夏
新疆
新疆兵团
路演活动
科技成果
参观
人数
0
0
0
0
0
0
0
点赞
人数
0
0
0
0
0
0
0
技术领域
全部
新兴行业
|
新基建
|
电子信息
|
高端产业
|
生物医药
|
石化与新材料
|
智能机械与光机电一体化
|
节能环保
|
新能源
|
现代农业
|
高端技术服务业
|
农林牧副渔
|
城建规划
|
文化创意
|
矿山工程
|
冶金工程
|
企业管理
|
知识产权
|
智库咨询
|
旅游休闲娱乐
|
企业发展服务
|
电子商务
|
纺织
|
其他
|
更多
糙米系列功能性发酵食品开发
国家粮食和物资储备局科学研究院
来曲唑在制备激素诱导犊牛卵泡发育药物中的应用
中国农业大学
一种中药提取物与益生菌的复合发酵操作方法
四川生力源生物工程有限公司
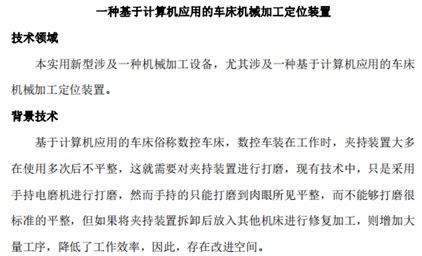
一种基于计算机应用的车床机械加工定位装置
渭南师范学院
一种基于边缘保持滤波器的人脸图像滤波方法
长安大学
形变监测预警服务平台
广东国地规划科技股份有限公司
一种缩短母猪产程、减少死胎和增加母猪产后食量的中兽药组合物
四川生力源生物工程有限公司
InSAR遥感数据处理服务
广东国地规划科技股份有限公司
一种燃煤火电厂烟气脱硫脱汞方法
贵州知富云科技有限公司
一种混菌发酵微生物制剂及其制备方法
四川生力源生物工程有限公司
一种降低动物胃产甲烷量的方法
中国农业大学动物科技学院
一种用于铺设碳纤维带的装置
长安大学
一种生物降解菜籽粕毒素并提高其营养价值的方法
四川生力源生物工程有限公司
一种沥青混合料抗压强度的优化方法
长安大学
一种烟气脱硫脱汞剂及其制备方法
贵州知富云科技有限公司
一种枯草芽孢杆菌的发酵培养基与一种生产γ-聚谷氨酸的方法
四川生力源生物工程有限公司
植物纤维纸基地膜材料
齐鲁工业大学(山东省科学院)
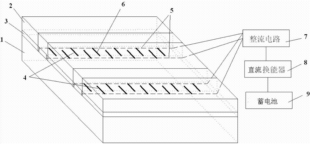
一种基于压电沥青混凝土的发电路面结构
长安大学
新型智能健康感知、健康大数据分析、智能化健康评测等
西北工业大学
智慧园区
广东国地规划科技股份有限公司
首页
上一页
4777
4778
4779
4780
4781
4782
4783
下一页
尾页
共16005页 转到
页