一种基于神经网络的钢筋捆扎方法
长安大学
一种多功能气体前处理装置
中国农科院农业环境与可持续发展研究所
一种缓释型蓄盐集料及其制备方法
长安大学
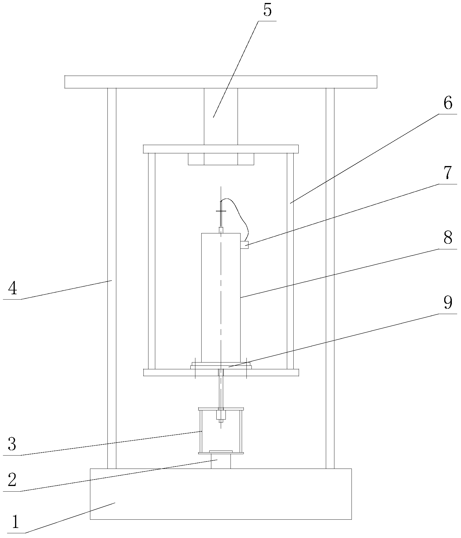
一种吸力控制型快速非饱和土试样制样器
长安大学
用于土壤的捕气装置
中国农科院农业环境与可持续发展研究所
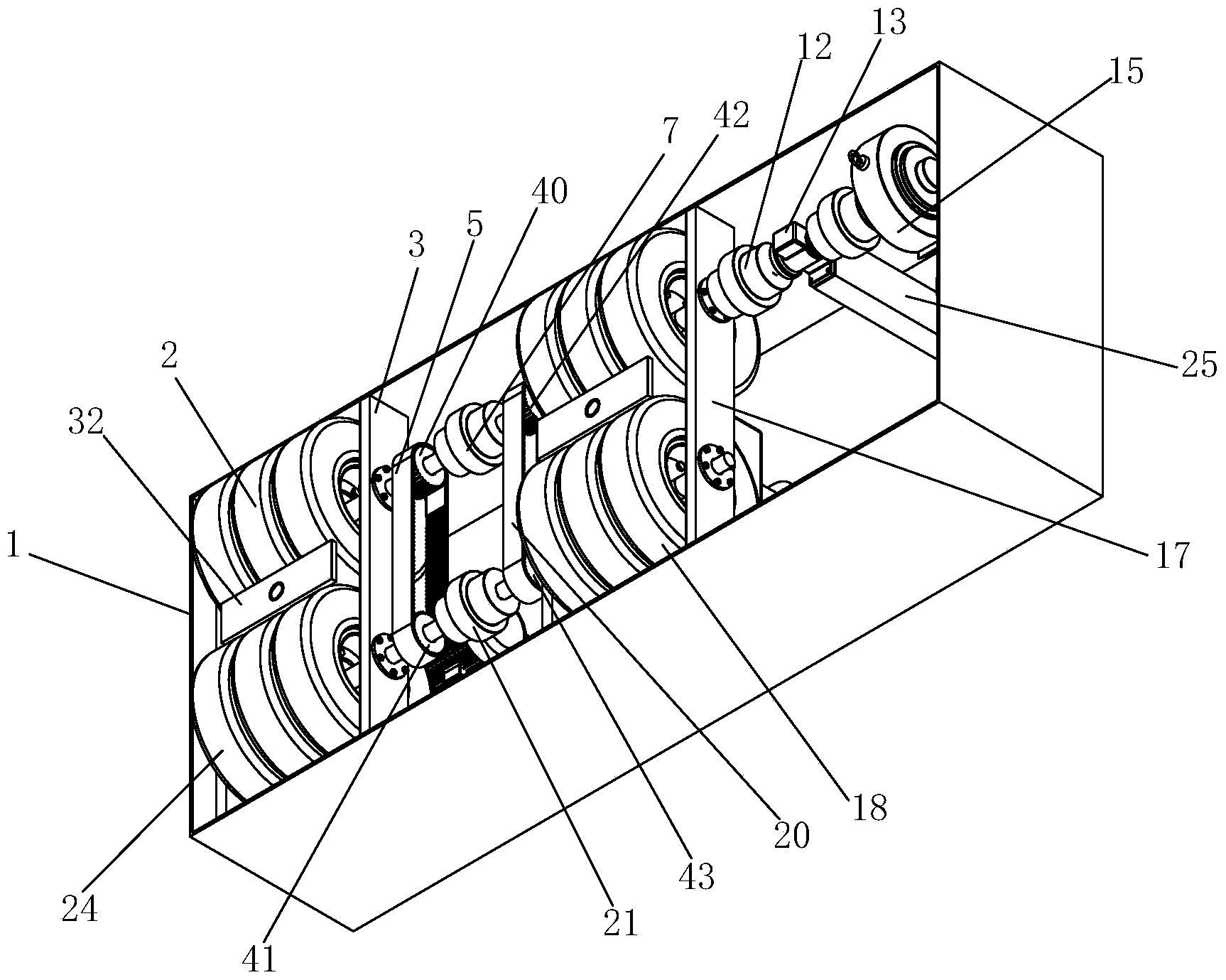
先张法构件中钢绞线与混凝土间粘结应力测试装置及方法
长安大学
一种鉴定水稻品种高产低排的方法
中国农科院农业环境与可持续发展研究所
一种特长公路隧道洞内值班室组合式空气净化系统及方法
长安大学
一种单分散有序疏水二氧化硅纳米颗粒的制备方法
常州英中纳米科技有限公司
一种轮式冷铣刨机出厂检测装置
长安大学
一种电动汽车充电系统实训装置
天津中汽恒泰教育科技有限公司
一种基于高斯差分多尺度边缘融合的车辆检测方法
长安大学
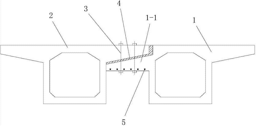
一种桥梁加宽用新旧桥连接加固构造
长安大学
AWD水稻碳减排技术适用性评价方法
中国农科院农业环境与可持续发展研究所
一种车辆模块化实训装置
天津中汽恒泰教育科技有限公司
一种弯曲假单胞菌及其应用
长安大学
玉米推茬清垄旋耕播种技术
中国农业科学院作物科学研究所
一种可调式顶侧开口的自动静态箱
中国农科院农业环境与可持续发展研究所
纯电动汽车故障检测实训装置
天津中汽恒泰教育科技有限公司
一种高陡斜坡上危岩体削方块石转运的方法及其结构
贵州知富云科技有限公司
共16004页 转到