项目流程综合管控系统
哈尔滨育臣智信信息技术有限公司
一种医疗外科手术用辅助器械
徐州医科大学
旅游业务多角色全过程管理平台
哈尔滨育臣智信信息技术有限公司
一种采煤机定位定姿装置及方法
西京学院
人机互动智能灯光系统设计
郑州大学电气与信息工程学院
基于银行无网点地区业务裂变运营平台
哈尔滨育臣智信信息技术有限公司
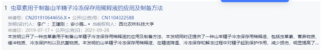
虫草素用于制备山羊精子冷冻保存用稀释液的应用及制备方法
西北农林科技大学
新能源汽车电机减速器壳体研发及产业化
宁波精晨机械有限公司
高等院校综合资源管理平台
哈尔滨育臣智信信息技术有限公司
一种低合金高强韧性马贝复相钢的制备工艺
西京学院
“爱上旅游”云平台
哈尔滨育臣智信信息技术有限公司
少年成长档案平台
苏州西西艾弗科技服务有限公司
双目成像系统彩色图像处理流水线融合优化设计方法研究
郑州轻工业大学
在线PCB板功能检测仪
宁波品赫自动化有限公司
上海积健自动化
上海积健自动化设备有限公司
一种具有富硼化钨涂层的工件
中国科学院深圳先进技术研究院
一种附带增强联组的多功能可拼装分体式热泵
西京学院
可诚智能厨房助手
苏州西西艾弗科技服务有限公司
一种岩溶管道堵漏装置
西京学院
一种用于清除蜂巢的无人机系统及其使用方法
西京学院
共16004页 转到