一种自动分张器用新型升降结构
广州华昇科技咨询有限公司
一种加压冷冻猪肉装置
哈尔滨商业大学
复合顶板锚杆支护角度确定方法
贵州知富云科技有限公司
小型水面环保船
陕西欧卡电子智能科技有限公司
远丰Java版商城系统
上海远丰信息科技(集团)有限公司
杆菌肽的发酵工艺优化与控制
华东理工大学生物工程学院
杭叉重装车辆系列正面吊
杭州飞鱼工业设计有限公司、杭叉集团股份有限公司
叶片阻尼式光纤差压传感系统及其检测方法
贵州知富云科技有限公司
远丰S2B2B电商系统
上海远丰信息科技(集团)有限公司
一种手臂训练用辅助器材
哈尔滨商业大学
提取物及牙膏中柚皮苷含量测定方法的改进研究
柳州两面针股份有限公司
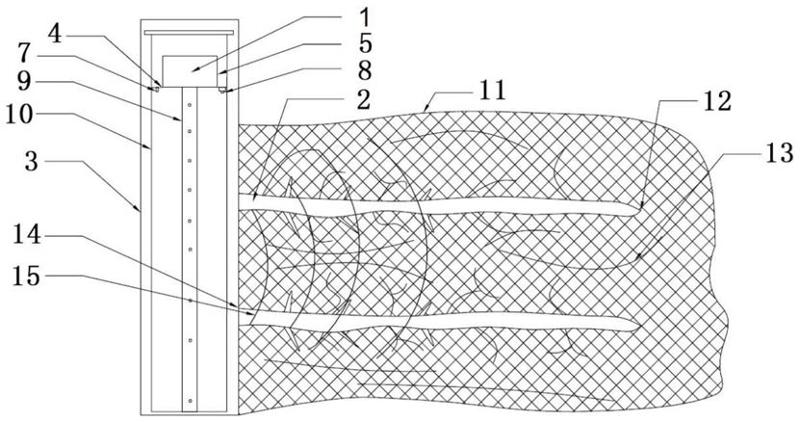
一种树胸径测量辅助器
广州华昇科技咨询有限公司
泰乐菌素的发酵工艺优化与控制
华东理工大学生物工程学院
一种园林工程测量现场放线装置
哈尔滨商业大学
叶片阻尼式光纤差压传感器探头及其检测方法
贵州知富云科技有限公司
基于两面针新棒状花椒酰胺含量的动态累积研究
柳州两面针股份有限公司
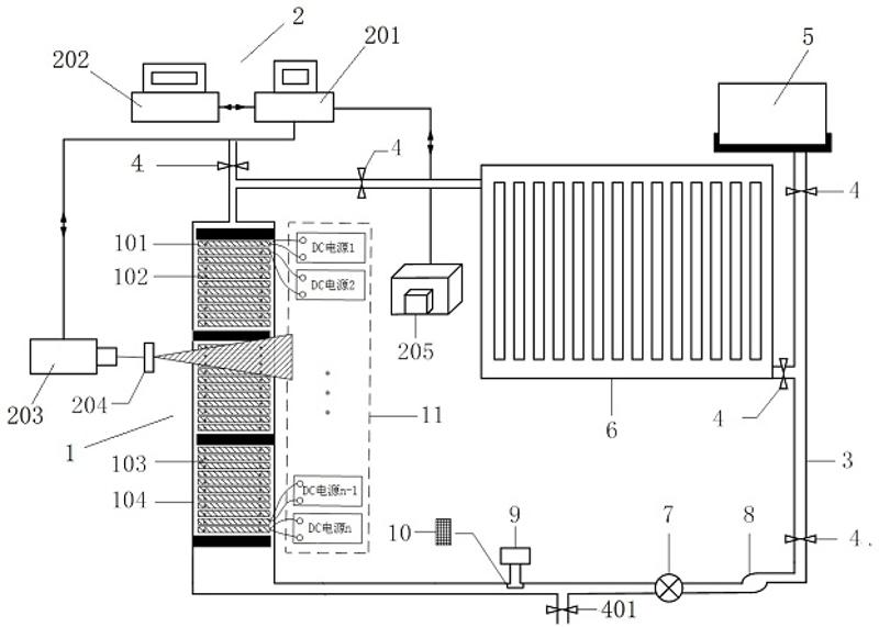
感应加热式小型极薄带液压轧机设计
东北大学秦皇岛分校
远丰B2B数字平台系统
上海远丰信息科技(集团)有限公司
一种左心室全参数及置信度的量化方法
深圳博士创新技术转移有限公司
药用萜类化合物番茄红素生物制造产业化技术
华东理工大学生物工程学院
共16046页 转到