货腾电商管理控制维护系统
哈尔滨货腾电子商务有限公司
一种含钢纤维的生物质灰混凝土砌块及其制作方法
西京学院
海河生物
天津海河生物医药科技集团有限公司
货腾电商平台定制设计平台
哈尔滨货腾电子商务有限公司
一种计算机大数据连接装置
西京学院
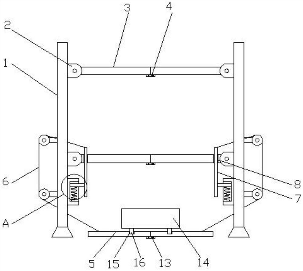
一种计算机大数据用服务器放置架
西京学院
一种用于计算机应用开发的主机箱
西京学院
小麦新品种龙辐麦196新品种权
黑龙江省农业科学院作物资源研究所
智能营销云计算平台MIC(Marketing Intelligent Cloud)
中国电子学会
基于BOM和工艺路线集成的采购以及外协加工的控制系统
哈尔滨宇龙自动化有限公司
一种发酵乳及其制备和应用
广州双骏生物科技有限公司
维鹰云智能运维产品
中国电子学会
一种质检管理及跟踪方法、系统、存储介质及计算机
哈尔滨宇龙自动化有限公司
一种自动化工程项目管理系统
哈尔滨宇龙自动化有限公司
天津布尔智能网联技术
天津布尔智能网联技术有限公司
一种基于OPC UA协议的MOM系统自动化设备数据交互集成平台及方法
哈尔滨宇龙自动化有限公司
防止断流弥合水锤空气阀
哈尔滨工业大学
清智优化
清智优化(天津)科技有限责任公司
可通过阀门的长距离水力式刮管器
哈尔滨工业大学
鲲鹏信息
天津鲲鹏信息技术 有限公司
共15998页 转到