科创中国
问题分诊室
具身智能与智慧医疗融合创新产业
高性能装备制造产业
智能机器人全产业链产业
中医药产业
人工智能产业
新一代信息技术产业
作物产业
量子科技与先进制造产业
海洋装备产业
煤炭开采及煤化工产业
特殊钢产业
节能环保产业
低空经济产业
光电产业
汽车产业
新能源产业
新材料产业
“以竹代塑”
成果发布厅
新型电力系统
化学领域
现代纺织
低空经济
信息通信
智慧公路
煤炭开采及煤化工
中医药
智能机器人全产业链
海洋装备
新一代信息技术
量子科技与先进制造
人工智能
高性能装备制造
具身智能与智慧医疗融合创新
作物
科创地方
科创北京
科创天津
科创内蒙古
科创辽宁
科创江苏
科创广西
科创广东
科创重庆
科创宁夏
科创河北
科创山东
科创河南
科创福建
科创湖南
科创黑龙江
科创湖北
科创浙江
科创山西
科创资讯
科创头条
科协活动
通知公告
科技政策
技术经理人
科技服务团
资源中心
项目库
问题库
案例库
开源库
学术资源
会议展览
品牌栏目
院士开讲
解码新质生产力
金融服务云课堂
企创云课堂
有问题想咨询
有成果想转化
我的交易
我的会议
我报名的路演会议
我的资讯
我的消息
我的动态
我的需求
我的成果
我的
个人资料编辑
退出登录
登录/注册
科创中国
需求发布
成果发布
科创案例库
揭榜挂帅
技术经理人
会议展览
科创联合体
科技服务团
科创资讯
科技政策
院士开讲
学术资源
城市站点
协作站点
搜索
问题库
项目库
开源库
English
我的交易
我的会议
我报名的路演会议
我的资讯
我的消息
我的动态
我的需求
我的成果
我的
个人资料编辑
退出登录
登录/注册
组织入驻
隐藏工作区
全国
在线展厅
切换展厅
全国
北京市
天津市
河北省
山西省
内蒙古
辽宁省
吉林省
黑龙江省
上海市
江苏省
浙江省
安徽省
福建省
江西省
山东省
河南省
湖北省
湖南省
广东省
广西
海南省
重庆市
四川省
贵州省
云南省
西藏
陕西省
甘肃省
青海省
宁夏
新疆
新疆兵团
路演活动
科技成果
参观
人数
0
0
0
0
0
0
0
点赞
人数
0
0
0
0
0
0
0
技术领域
全部
新兴行业
|
新基建
|
电子信息
|
高端产业
|
生物医药
|
石化与新材料
|
智能机械与光机电一体化
|
节能环保
|
新能源
|
现代农业
|
高端技术服务业
|
农林牧副渔
|
城建规划
|
文化创意
|
矿山工程
|
冶金工程
|
企业管理
|
知识产权
|
智库咨询
|
旅游休闲娱乐
|
企业发展服务
|
电子商务
|
纺织
|
其他
|
更多
基于微服务架构的财政预算管理一体化系统
北京中科江南信息技术股份有限公司
宝刀“V”老 —基于国产VR技术引擎的老年康复训练与防治
内蒙古科技大学包头医学院
一种延长汽车轧管顶头寿命的置料系统
无锡商业职业技术学院
全自动旅客捷运列车系统
南京天天新文化传播有限公司/中车浦镇庞巴迪运输系统有限公司
汽车安全气囊的传感器触发系统
无锡商业职业技术学院
一种酶法联合红外干燥去除核桃仁种皮的技术方法
湖北文理学院
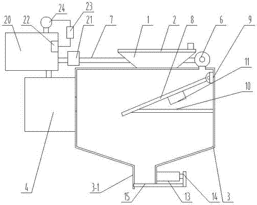
一种肥料烘干机
荆楚理工学院
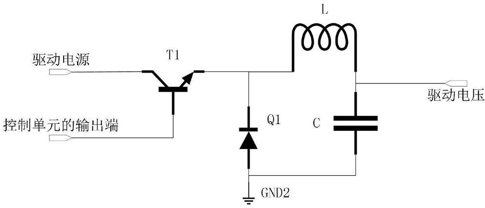
一种LED投光灯的驱动电路及其控制方法
无锡商业职业技术学院
基于人耳尺码标准的定制耳机设计
西安慕声电子科技有限公司
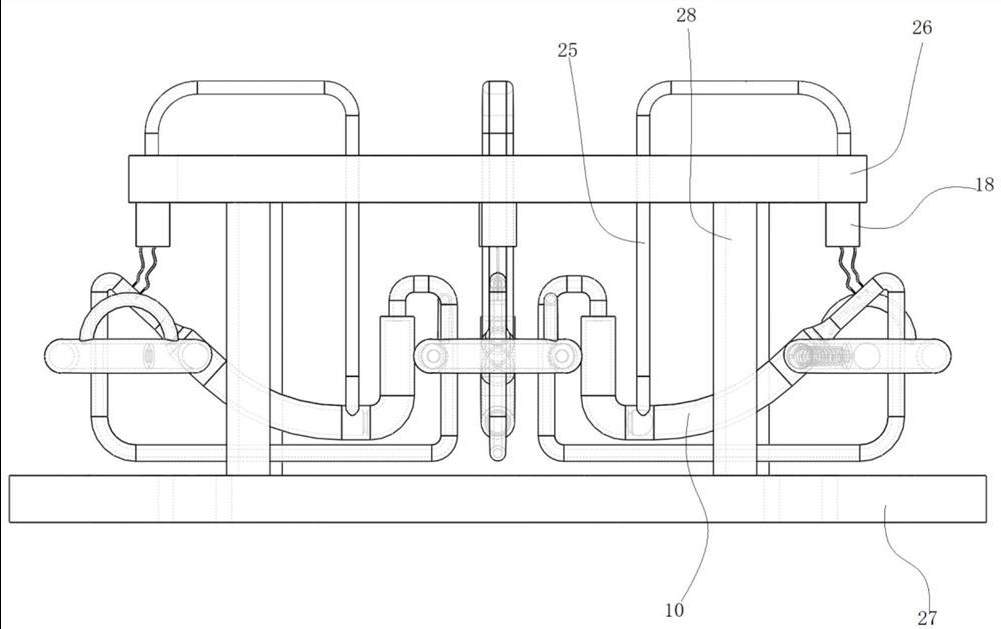
一种汽车维修拖车装置
无锡商业职业技术学院
一种节能降噪的家用电器底座
湖北文理学院
一种烟雾探测器的校准方法及校准装置
无锡商业职业技术学院
一种英语教学用教具
荆楚理工学院
一种花状含孔铂基纳米催化剂的通用制备方法
贵州知富云科技有限公司
公立医院合同信息化管理系统的设计
柳州市工人医院
一种紫外杀菌灯具的发光元件封装结构及其驱动方法
无锡商业职业技术学院
一种用于固体燃料的浇筑磨具
湖北文理学院
100米防水水下智能机器人
中国机械工程学会
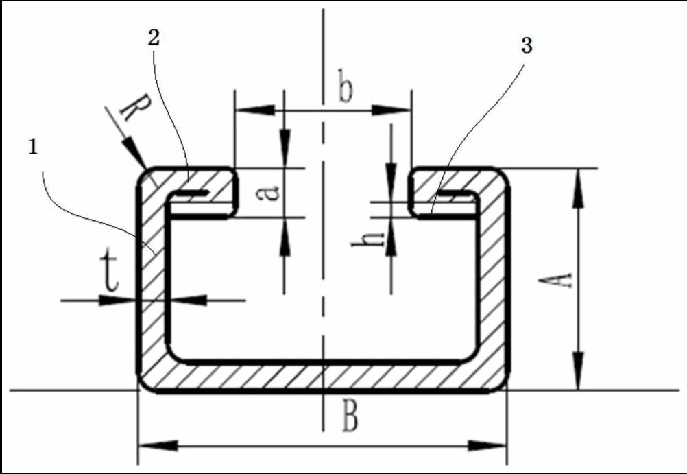
一种轨道交通隧道用折叠齿牙槽钢及其制备工艺
无锡商业职业技术学院
医院信息化心电监控一体化系统
柳州市工人医院
首页
上一页
4573
4574
4575
4576
4577
4578
4579
下一页
尾页
共15998页 转到
页