科创中国
问题分诊室
具身智能与智慧医疗融合创新产业
高性能装备制造产业
智能机器人全产业链产业
中医药产业
人工智能产业
新一代信息技术产业
作物产业
量子科技与先进制造产业
海洋装备产业
煤炭开采及煤化工产业
特殊钢产业
节能环保产业
低空经济产业
光电产业
汽车产业
新能源产业
新材料产业
“以竹代塑”
成果发布厅
新型电力系统
化学领域
现代纺织
低空经济
信息通信
智慧公路
煤炭开采及煤化工
中医药
智能机器人全产业链
海洋装备
新一代信息技术
量子科技与先进制造
人工智能
高性能装备制造
具身智能与智慧医疗融合创新
作物
科创地方
科创北京
科创天津
科创内蒙古
科创辽宁
科创江苏
科创广西
科创广东
科创重庆
科创宁夏
科创河北
科创山东
科创河南
科创福建
科创湖南
科创黑龙江
科创湖北
科创浙江
科创山西
科创资讯
科创头条
科协活动
通知公告
科技政策
技术经理人
科技服务团
资源中心
项目库
问题库
案例库
开源库
学术资源
会议展览
品牌栏目
院士开讲
解码新质生产力
金融服务云课堂
企创云课堂
有问题想咨询
有成果想转化
我的交易
我的会议
我报名的路演会议
我的资讯
我的消息
我的动态
我的需求
我的成果
我的
个人资料编辑
退出登录
登录/注册
科创中国
需求发布
成果发布
科创案例库
揭榜挂帅
技术经理人
会议展览
科创联合体
科技服务团
科创资讯
科技政策
院士开讲
学术资源
城市站点
协作站点
搜索
问题库
项目库
开源库
English
我的交易
我的会议
我报名的路演会议
我的资讯
我的消息
我的动态
我的需求
我的成果
我的
个人资料编辑
退出登录
登录/注册
组织入驻
隐藏工作区
全国
在线展厅
切换展厅
全国
北京市
天津市
河北省
山西省
内蒙古
辽宁省
吉林省
黑龙江省
上海市
江苏省
浙江省
安徽省
福建省
江西省
山东省
河南省
湖北省
湖南省
广东省
广西
海南省
重庆市
四川省
贵州省
云南省
西藏
陕西省
甘肃省
青海省
宁夏
新疆
新疆兵团
路演活动
科技成果
参观
人数
0
0
0
0
0
0
0
点赞
人数
0
0
0
0
0
0
0
技术领域
全部
新兴行业
|
新基建
|
电子信息
|
高端产业
|
生物医药
|
石化与新材料
|
智能机械与光机电一体化
|
节能环保
|
新能源
|
现代农业
|
高端技术服务业
|
农林牧副渔
|
城建规划
|
文化创意
|
矿山工程
|
冶金工程
|
企业管理
|
知识产权
|
智库咨询
|
旅游休闲娱乐
|
企业发展服务
|
电子商务
|
纺织
|
其他
|
更多
一种驾驶模拟训练机的操作机头
常州工程职业技术学院
高功率EEL激光器芯片
江西德瑞光电技术有限责任公司
一种用于疫情防控的污水处理装置
黑龙江大学
一种砌块单元及运用其的自由组合卡扣式砌体墙体系
常州工程职业技术学院
煤气发电移动式滤油机油管改造
广西柳州钢铁集团有限公司
Au@HNTs-chitin复合水凝胶材料
广州暨南大学医药生物技术研究开发中心
cos综合性能测试机
江西德瑞光电技术有限责任公司
一种用于计算机的加密盒
黑龙江大学
混凝土质量控制观测台
广西柳州钢铁集团有限公司
黄瓜DNA提取装置
黑龙江大学
煤气管道计量段积水排污改造
广西柳州钢铁集团有限公司
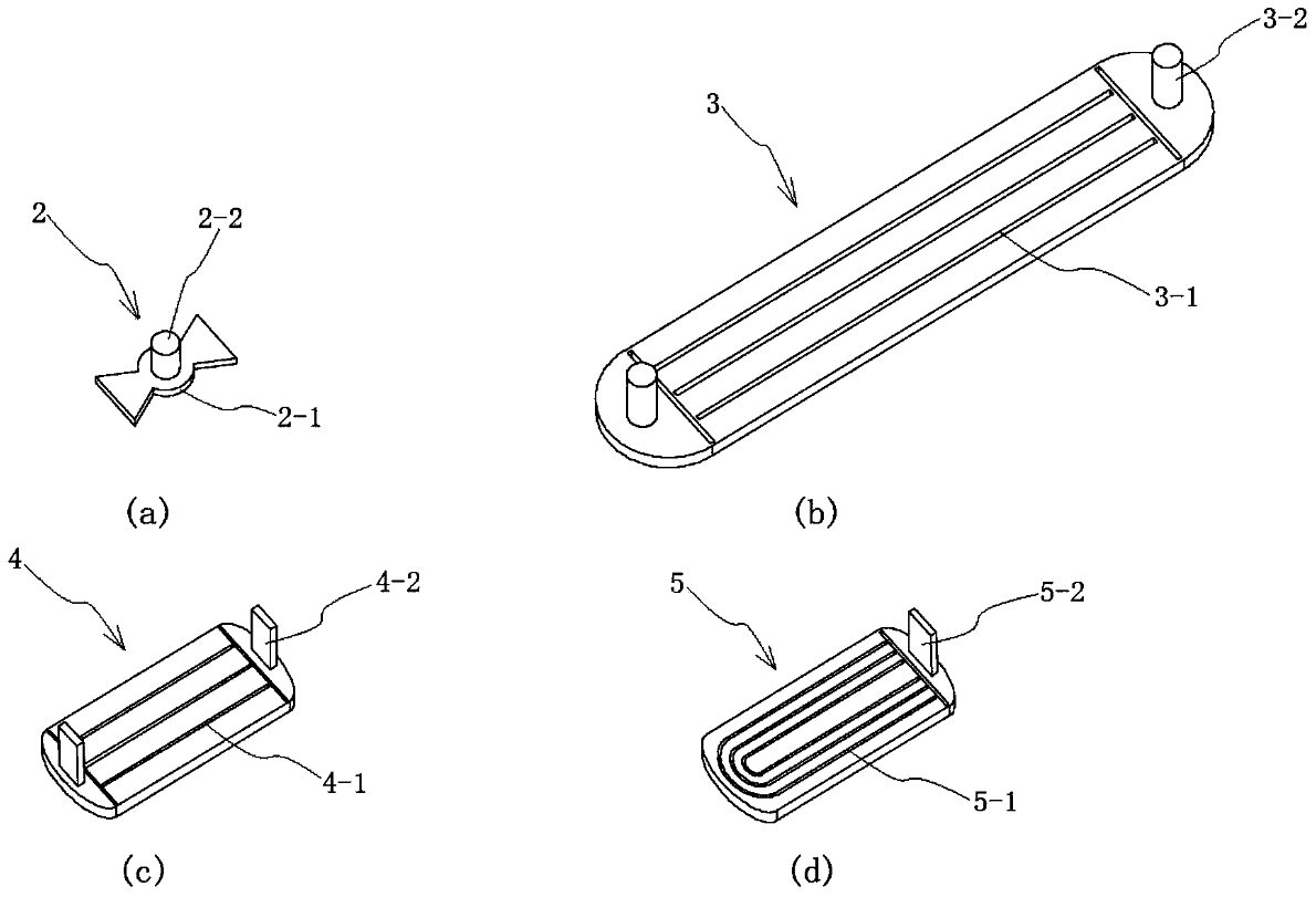
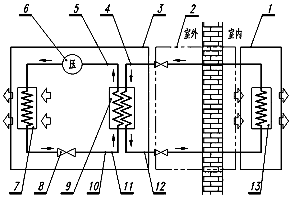
热管耦合式空调
常州工程职业技术学院
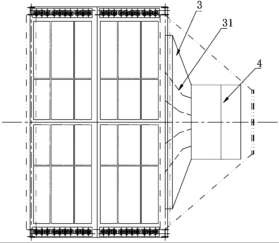
一种新型电改袋除尘器净气室出风烟道结构
常州工程职业技术学院
单梁电动葫芦控制方式的改造
广西柳州钢铁集团有限公司
地下管道手动阀门圆盘操控杆的发明
广西柳州钢铁集团有限公司
一种新型外双转子异步起动永磁同步电机转子铁芯结构
常州工程职业技术学院
《包装机组包装质量和效率提升攻关》
广西钢铁集团有限公司冷轧厂
一种基于文献的污染地块信息综合分析方法
中国矿业大学
一种化工工艺流程绘制辅助图板
常州工程职业技术学院
嵌合抗原受体基因修饰的T细胞靶向肿瘤治疗技术
深圳市北科生物科技有限公司
首页
上一页
4467
4468
4469
4470
4471
4472
4473
下一页
尾页
共15997页 转到
页