科创中国
问题分诊室
具身智能与智慧医疗融合创新产业
高性能装备制造产业
智能机器人全产业链产业
中医药产业
人工智能产业
新一代信息技术产业
作物产业
量子科技与先进制造产业
海洋装备产业
煤炭开采及煤化工产业
特殊钢产业
节能环保产业
低空经济产业
光电产业
汽车产业
新能源产业
新材料产业
“以竹代塑”
成果发布厅
新型电力系统
化学领域
现代纺织
低空经济
信息通信
智慧公路
煤炭开采及煤化工
中医药
智能机器人全产业链
海洋装备
新一代信息技术
量子科技与先进制造
人工智能
高性能装备制造
具身智能与智慧医疗融合创新
作物
科创地方
科创北京
科创天津
科创内蒙古
科创辽宁
科创江苏
科创广西
科创广东
科创重庆
科创宁夏
科创河北
科创山东
科创河南
科创福建
科创湖南
科创黑龙江
科创湖北
科创浙江
科创山西
科创资讯
科创头条
科协活动
通知公告
科技政策
技术经理人
科技服务团
资源中心
项目库
问题库
案例库
开源库
学术资源
会议展览
品牌栏目
院士开讲
解码新质生产力
金融服务云课堂
企创云课堂
有问题想咨询
有成果想转化
我的交易
我的会议
我报名的路演会议
我的资讯
我的消息
我的动态
我的需求
我的成果
我的
个人资料编辑
退出登录
登录/注册
科创中国
需求发布
成果发布
科创案例库
揭榜挂帅
技术经理人
会议展览
科创联合体
科技服务团
科创资讯
科技政策
院士开讲
学术资源
城市站点
协作站点
搜索
问题库
项目库
开源库
English
我的交易
我的会议
我报名的路演会议
我的资讯
我的消息
我的动态
我的需求
我的成果
我的
个人资料编辑
退出登录
登录/注册
组织入驻
隐藏工作区
全国
在线展厅
切换展厅
全国
北京市
天津市
河北省
山西省
内蒙古
辽宁省
吉林省
黑龙江省
上海市
江苏省
浙江省
安徽省
福建省
江西省
山东省
河南省
湖北省
湖南省
广东省
广西
海南省
重庆市
四川省
贵州省
云南省
西藏
陕西省
甘肃省
青海省
宁夏
新疆
新疆兵团
路演活动
科技成果
参观
人数
0
0
0
0
0
0
0
点赞
人数
0
0
0
0
0
0
0
技术领域
全部
新兴行业
|
新基建
|
电子信息
|
高端产业
|
生物医药
|
石化与新材料
|
智能机械与光机电一体化
|
节能环保
|
新能源
|
现代农业
|
高端技术服务业
|
农林牧副渔
|
城建规划
|
文化创意
|
矿山工程
|
冶金工程
|
企业管理
|
知识产权
|
智库咨询
|
旅游休闲娱乐
|
企业发展服务
|
电子商务
|
纺织
|
其他
|
更多
一种导管架拖航作业智能仿真系统及建模方法
哈尔滨工程大学
SOPHIA XO 高灵敏度 X射线相机
杭州谱镭光电技术有限公司
甘蔗渣复合PBAT环保可降解食品包装材料
广州华南新材料创新园有限公司
一种单层永磁体轴向磁通发电机永磁转子盘及发电方法
西京学院
一种农用地铅镉固化稳定剂及其制备方法
常州工程职业技术学院
PIXIS 科研级成像型和光谱型CCD相机
杭州谱镭光电技术有限公司
一种基于定容燃烧弹系统的集成监测控制系统
哈尔滨工程大学
一种基于储能装置计及欺诈行为的多社区能源合作博弈管理模型
常州工程职业技术学院
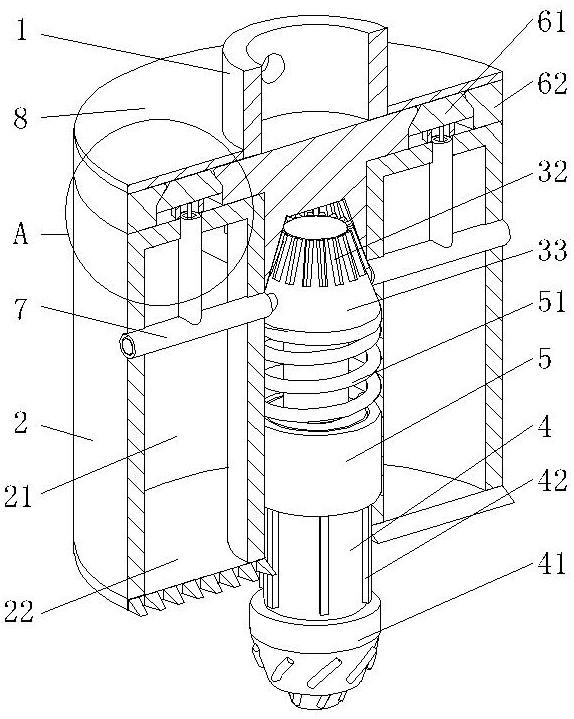
一种道路施工钻孔设备
西京学院
PyLoN 液氮制冷的成像型与光谱型相机
杭州谱镭光电技术有限公司
一种非同轴电机外置式电辅助涡轮增压器系统
哈尔滨工程大学
改性碳纤维产业化及其在污水处理中的大规模应用
广州华南新材料创新园有限公司
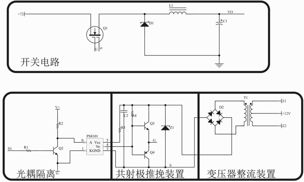
一种防止变压器磁饱和的MOS管驱动开关装置
常州工程职业技术学院
NIRvana LN 近红外/短波红外InGaAs相机
杭州谱镭光电技术有限公司
废蓄电池混杂塑料绿色回收和高值利用关键技术及产业化应用
广州华南新材料创新园有限公司
一种基于声学黑洞效应的多层复合高效减振板结构
哈尔滨工程大学
具有表面波导的单模光纤及SPR生物传感器
深圳博士创新技术转移有限公司
一种远程操控移动机械臂的控制系统及其方法
常州工程职业技术学院
一种对称五相永磁同步电机绕组自感与互感测试方法
哈尔滨工程大学
ProEM EMCCD电子增益相机
杭州谱镭光电技术有限公司
首页
上一页
4462
4463
4464
4465
4466
4467
4468
下一页
尾页
共15997页 转到
页